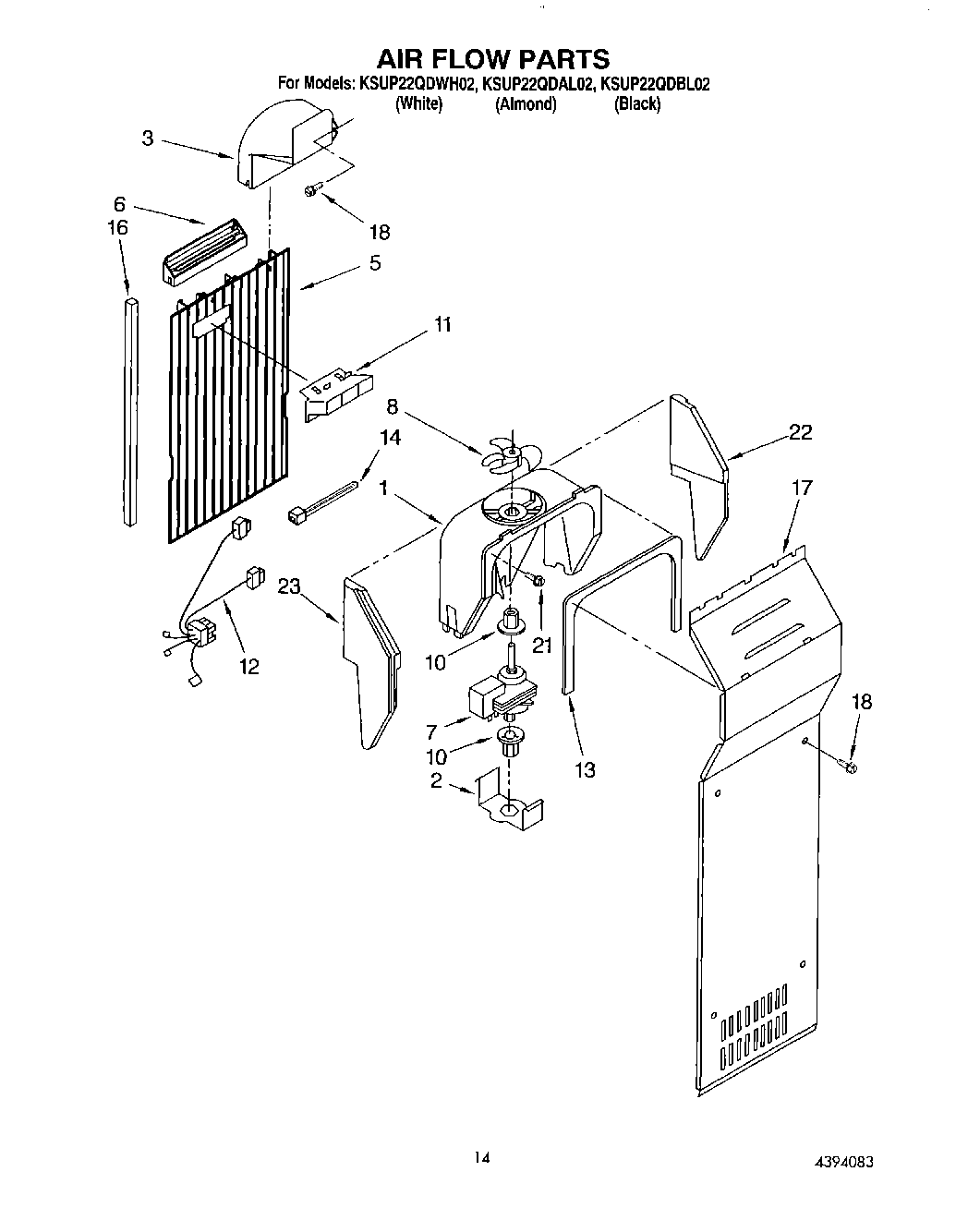
KSUP22QDBL02 09 – AIR FLOW