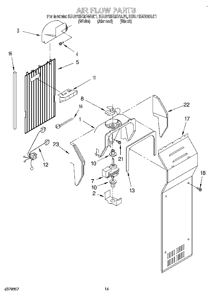
KSUP25QDWH01 09 – AIR FLOW