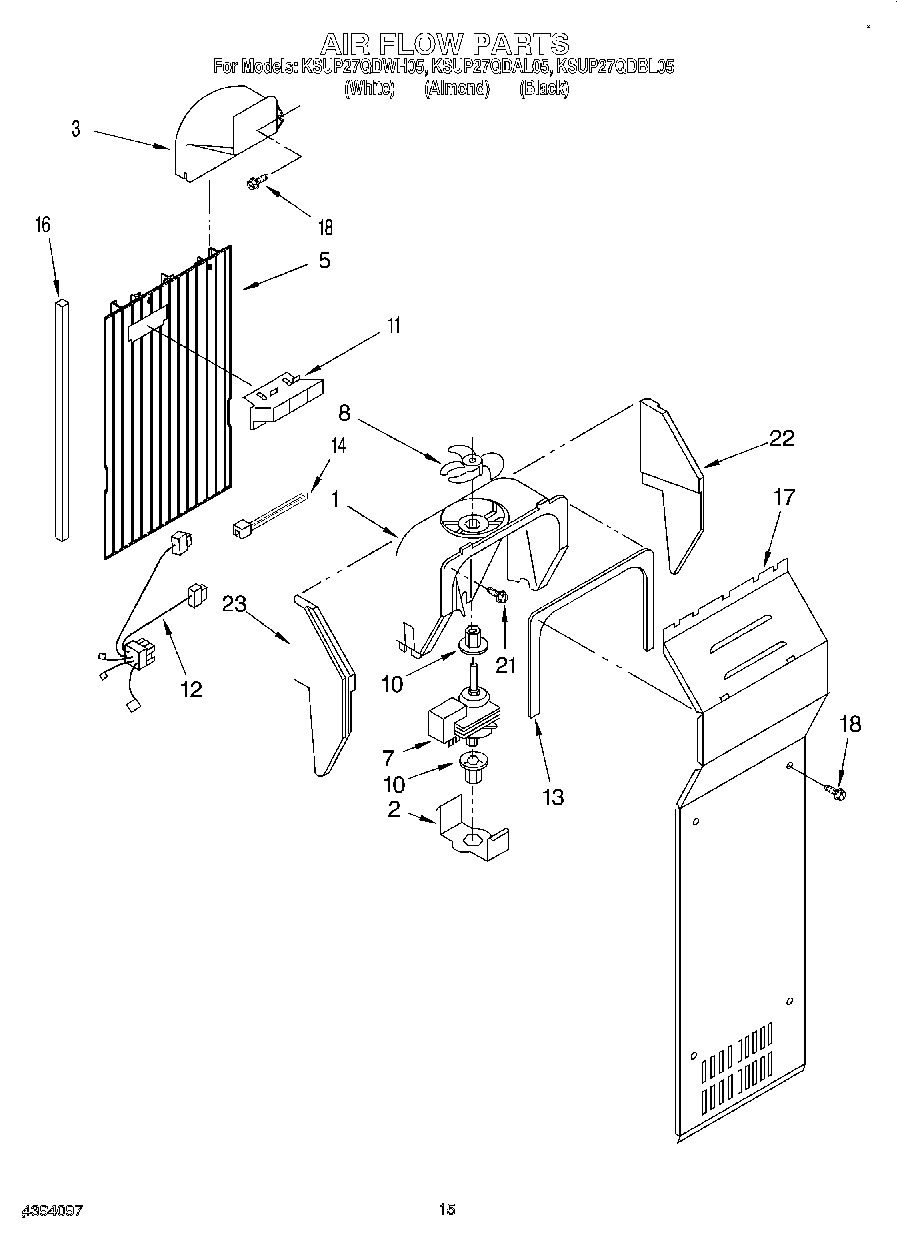
KSUP27QDWH05 09 – AIR FLOWadmin2025-04-26T12:12:32+00:00KSUP27QDWH05 09 – AIR FLOW ProductsPositionProduct1WP2182120 Whirlpool Refrigerator Scroll Fan2WP2155590 Whirlpool Refrigerator Retainer3Air Scoop5Air Duct Freezer74389144 Whirlpool Refrigerator Evaporator Fan Motor8WP2169142 Whirlpool Fan Blade10WP2176759 Whirlpool Refrigerator Grommet112182146 Whirlpool Refrigerator Duct12Harness, Fan Evaporator, And Heater, Bi-Metal13WP2155789 Whirlpool Refrigerator Gasket14WPW10339879 Whirlpool Wire Tie16WP2304241 Whirlpool Refrigerator Gasket17Cover, Evaporator18SCREW21WP489478 Whirlpool Refrigerator Screw234388358 Whirlpool Refrigerator Support Bracket