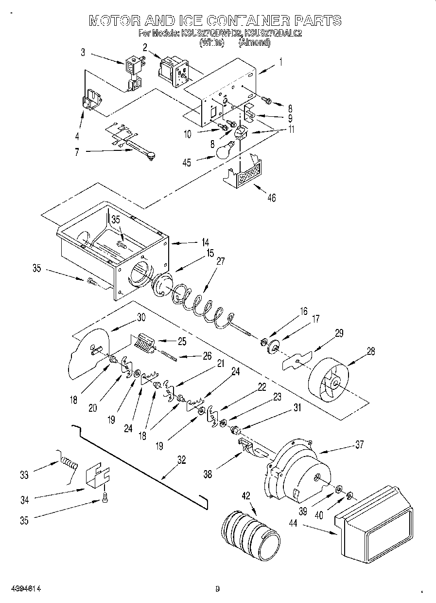
KSUS27QDAL02 06 – MOTOR AND ICE CONTAINERadmin2025-04-26T12:14:02+00:00KSUS27QDAL02 06 – MOTOR AND ICE CONTAINER ProductsPositionProduct1Bracket, Motor2WP2188242 Whirlpool Refrigerator Motor3WP2152713 Whirlpool Refrigerator Solenoid4W10850503 Whirlpool Refrigerator Guide7Wiring Assembly, Ice Dispenser8WP489399 Whirlpool Refrigerator Screw9COUPLING AUGER MOTOR10WP489478 Whirlpool Refrigerator Screw114387478 Whirlpool Refrigerator Light Socket14WPW10670845 Whirlpool Refrigerator Ice Container15W10749708 Whirlpool Refrigerator Coupling16Stop, Cone17Feeder Cone18WP1119005 Whirlpool Refrigerator Spacer19WP1119007 Whirlpool Refrigerator Spacer20W10278731 Whirlpool Refrigerator Blade21W10278732 Whirlpool Refrigerator Blade22W10278733 Whirlpool Refrigerator Blade23WP489235 Whirlpool Refrigerator Washer24Blade, Fixed (2)252157405 Whirlpool Refrigerator Blade Block26489229 Whirlpool Refrigerator Roll Pin27W10422851 Whirlpool Ice Maker Bucket Auger294388736 Whirlpool Refrigerator Ice Dispenser Bucket Bin Conveyor Auger Drum30W10852691 Whirlpool Refrigerator Baffle31WP1119018 Whirlpool Refrigerator Bearing32W11596045 Whirlpool Refrigerator Control Arm331119020 Whirlpool Refrigerator Spring341119021 Whirlpool Refrigerator Clip35WP488787 Whirlpool Refrigerator Screw37WPW10185018 Whirlpool Refrigerator Housing38WP1119017 Whirlpool Refrigerator Deflector39489234 Whirlpool Refrigerator Washer40WP489236 Whirlpool Refrigerator Ring424317870 Whirlpool Refrigerator Auger Sleeve44Front Cover, Ice Container45RANGE ONLY 40W 120V APPL BULB46WP2171706 Whirlpool Refrigerator Light Lens