KTA04LAB1 0
Products
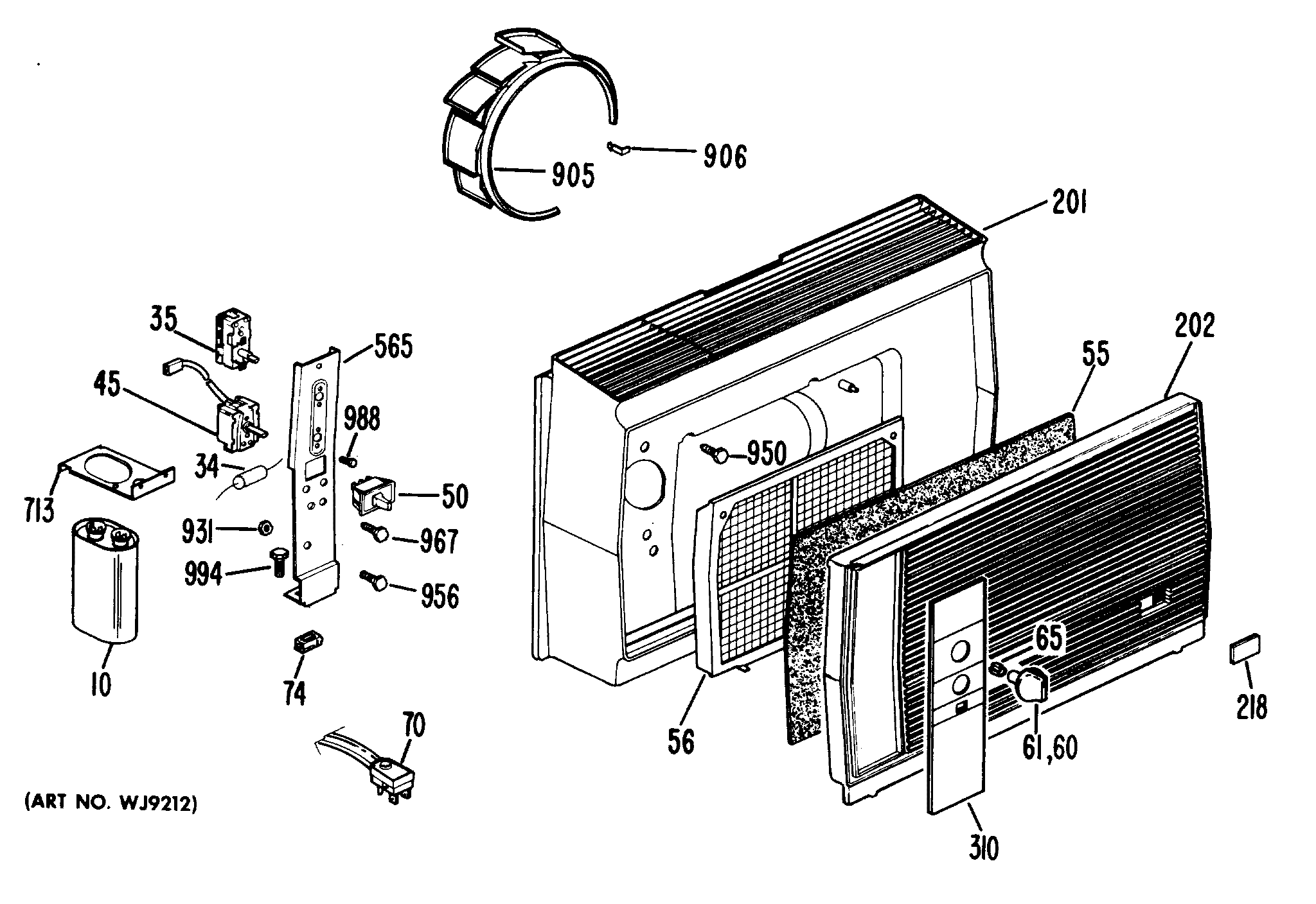
| Position | Product |
|---|---|
| 10 | GEN WJ20X0636 |
| 35 | GEN WJ28X0510 |
| 55 | GEN WJ85X0110 |
| 56 | GEN WJ66X0327 |
| 65 | KNOB SPRING |
| 70 | GEN WJ35X0105 |
| 74 | GEN WJ01X0647 |
| 201 | GEN WJ71X0858 |
| 202 | GEN WJ71X0884 |
| 218 | GEN WJ07X0778 |
| 310 | GEN WJ07X0738 |
| 565 | GEN WJ66X0369 |
| 713 | GEN WJ66X0438 |
| 905 | GEN WJ70X0262 |
| 906 | GEN WJ02X0391 |
| 950 | SCREW 11-10X9/16 HI-LOW |
| 956 | GEN WZ06X0108 |
| 967 | GEN WZ04X0275 |
| 988 | GEN WZ02X0539 |