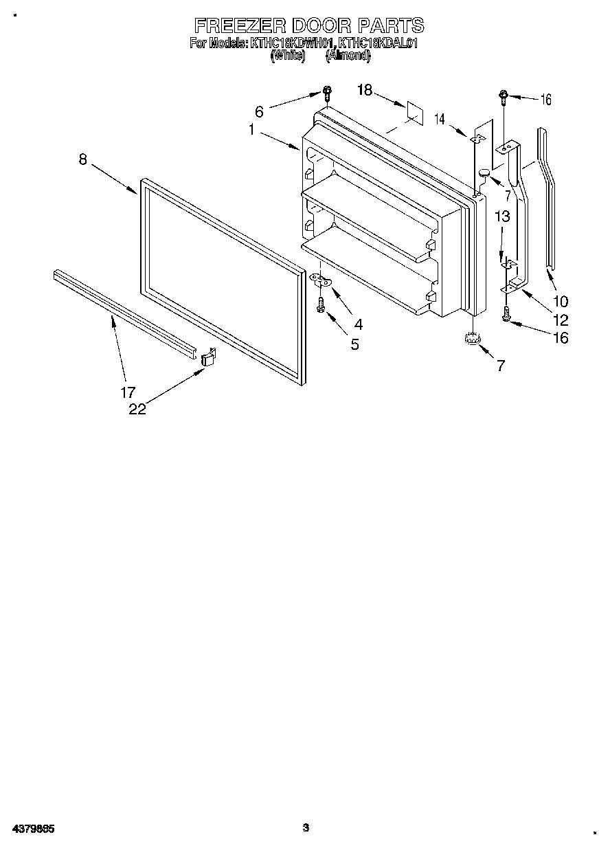
KTHC18KDWH01 02 – FREEZER DOORadmin2025-04-26T12:13:03+00:00KTHC18KDWH01 02 – FREEZER DOOR ProductsPositionProduct1Panel, Freezer Door (Includes Item 8) (Almond)1Panel, Freezer Door (Includes Item 8) (White)4Bracket, Door Stop5WP488921 Whirlpool Refrigerator Screw6WP8281206 Whirlpool Refrigerator Screw7WP2212648 Whirlpool Refrigerator Hinge Sleeve Hole Plug7Hole Plug (Almond)8Door Gasket, Magnetic (Service)10Insert, Handle (Almond)10Insert, Handle (White)12Handle13Shim, Bottom14Spacer, Handle16WP488920 Whirlpool Refrigerator Screw17Trim, Door Shelf (2)18Nameplate (Almond Model)18Nameplate (White Model)22ENDCAP