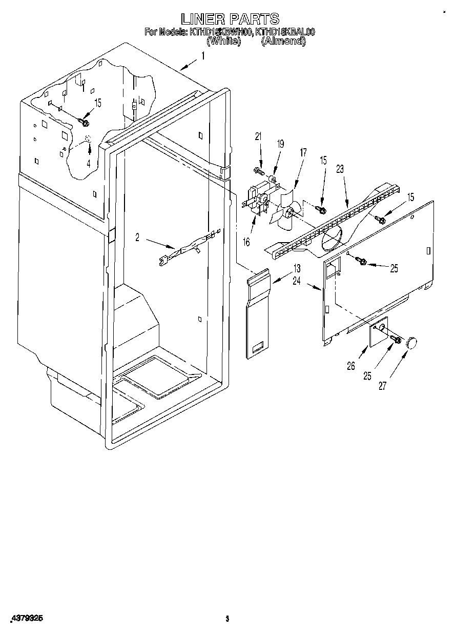
KTHD18KBWH00 02 – LINER