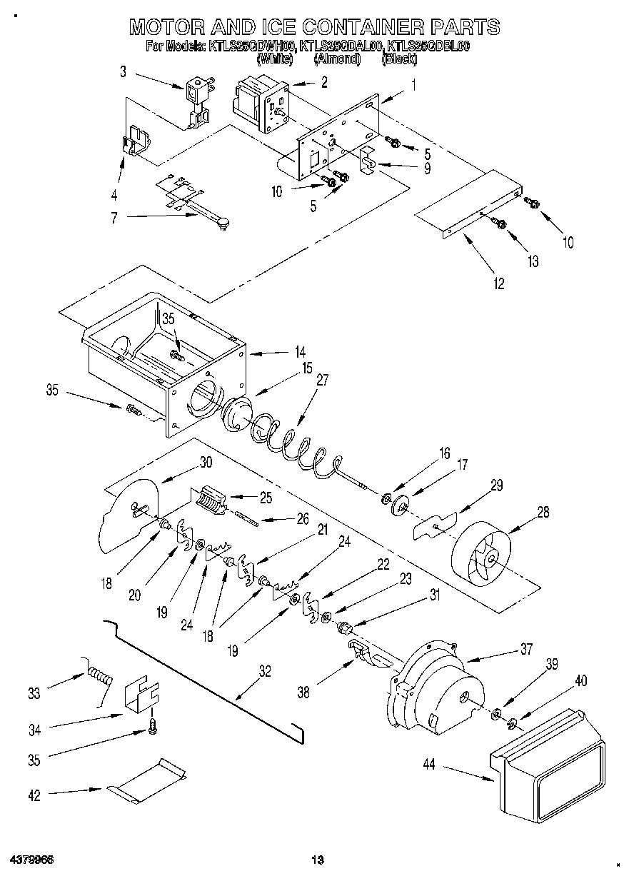
KTLS25QDBL00 08 – MOTOR AND ICE CONTAINERadmin2025-04-26T13:01:42+00:00KTLS25QDBL00 08 – MOTOR AND ICE CONTAINER ProductsPositionProduct1Bracket, Motor2WP2188242 Whirlpool Refrigerator Motor3WP2152713 Whirlpool Refrigerator Solenoid4W10850503 Whirlpool Refrigerator Guide5WP489399 Whirlpool Refrigerator Screw7Wiring Assembly, Ice Dispenser9COUPLING AUGER MOTOR10WP489478 Whirlpool Refrigerator Screw12Cover, Motor13WP489128 Whirlpool Refrigerator Screw14Ice Container15W10749708 Whirlpool Refrigerator Coupling16Stop, Cone17Feeder Cone18WP1119005 Whirlpool Refrigerator Spacer19WP1119007 Whirlpool Refrigerator Spacer20W10278731 Whirlpool Refrigerator Blade21W10278732 Whirlpool Refrigerator Blade22W10278733 Whirlpool Refrigerator Blade23WP489235 Whirlpool Refrigerator Washer24Blade, Fixed (2)252157405 Whirlpool Refrigerator Blade Block26489229 Whirlpool Refrigerator Roll Pin27Conveyor294388736 Whirlpool Refrigerator Ice Dispenser Bucket Bin Conveyor Auger Drum30W10852691 Whirlpool Refrigerator Baffle31WP1119018 Whirlpool Refrigerator Bearing32Control Arm331119020 Whirlpool Refrigerator Spring341119021 Whirlpool Refrigerator Clip35WP488787 Whirlpool Refrigerator Screw37WPW10185018 Whirlpool Refrigerator Housing38WP1119017 Whirlpool Refrigerator Deflector39489234 Whirlpool Refrigerator Washer40WP489236 Whirlpool Refrigerator Ring42Housing Filler44Front Cover, Ice Container