KTLS25QDWH01 06 – REFRIGERATOR DOORadmin2025-04-26T13:05:19+00:00KTLS25QDWH01 06 – REFRIGERATOR DOOR
Products
| Position | Product |
|---|
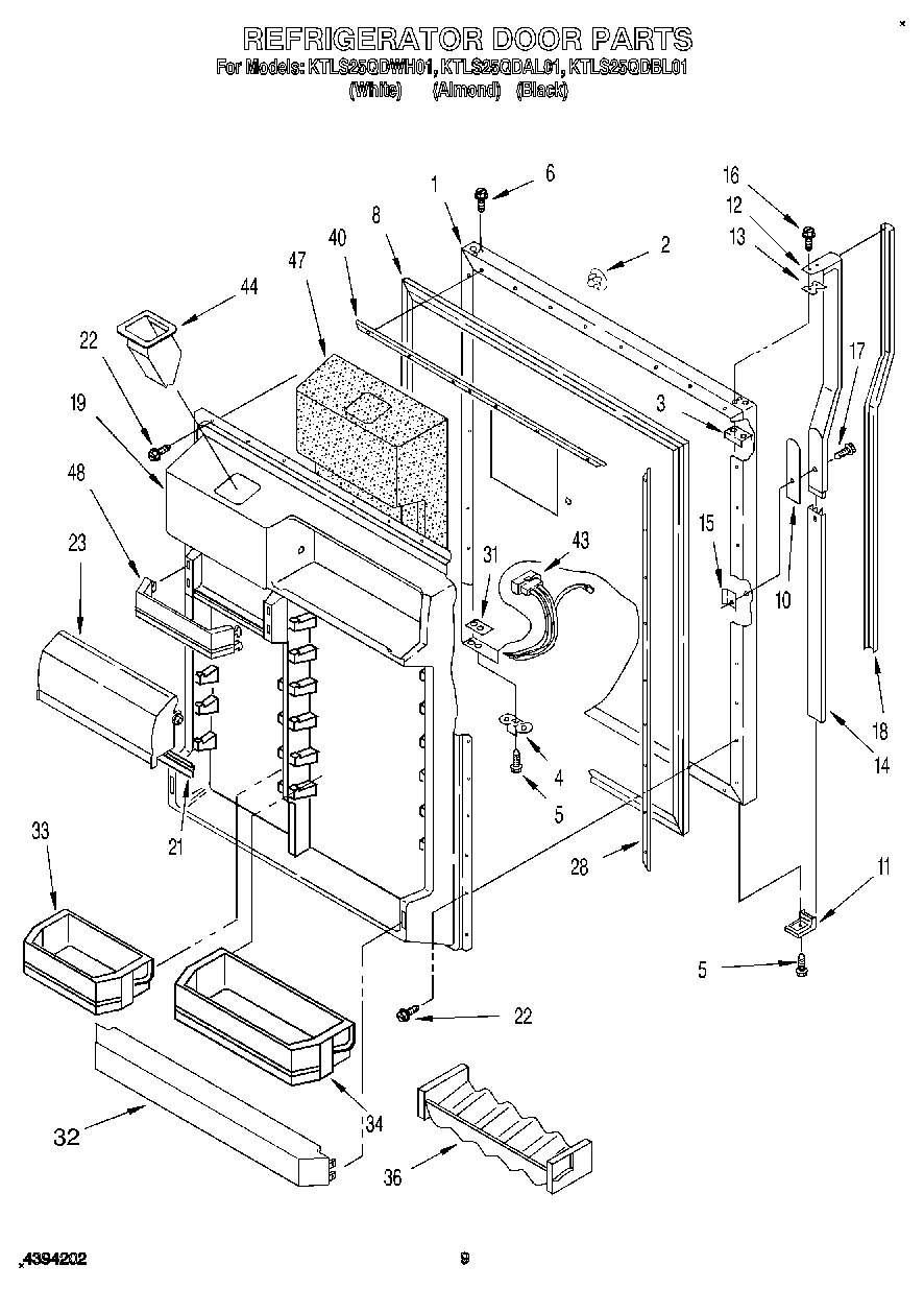
| 1 | Panel, Refrigerator Door (Includes Insulation) (Black) |
| 1 | Panel, Refrigerator Door (Includes Insulation) (Almond) |
| 1 | Panel, Refrigerator Door (Includes Insulation) (White) |
| 2 | Hole Plug, Handle (Almond) |
| 2 | WP2189009 Whirlpool Refrigerator Handle Plug |
| 2 | WP2189000 Whirlpool Refrigerator Handle Plug |
| 3 | W10833053 Whirlpool Refrigerator Plate |
| 4 | Bracket, Door Stop |
| 5 | WP488921 Whirlpool Refrigerator Screw |
| 6 | WP8281206 Whirlpool Refrigerator Screw |
| 8 | Door Gasket, Magnetic |
| 10 | Spacer, Handle |
| 11 | Handle End |
| 12 | Handle |
| 13 | Shim, Bottom |
| 14 | Retainer, Insert |
| 15 | WP939101 Whirlpool Refrigerator Plate |
| 16 | WP488920 Whirlpool Refrigerator Screw |
| 17 | WP488729 Whirlpool Refrigerator Door Screw |
| 18 | Insert, Handle (White) |
| 18 | Insert, Handle (Almond) |
| 18 | Insert, Handle (Black) |
| 19 | Interior Door Panel |
| 21 | Gasket, Door Compartment |
| 22 | WP489442 Whirlpool Refrigerator Screw |
| 23 | Compartment Door |
| 28 | Retainer, Gasket |
| 31 | Tap, Plate |
| 32 | Trivet, Door |
| 33 | Door Bin (Narrow) |
| 34 | Bin, Door Shelf |
| 36 | WPL 1125981 |
| 40 | Retainer, Gasket |
| 43 | Plug, Crossover |
| 44 | Ice Chute |
| 47 | Insulation, Dispenser |
| 48 | Trivet, Door |