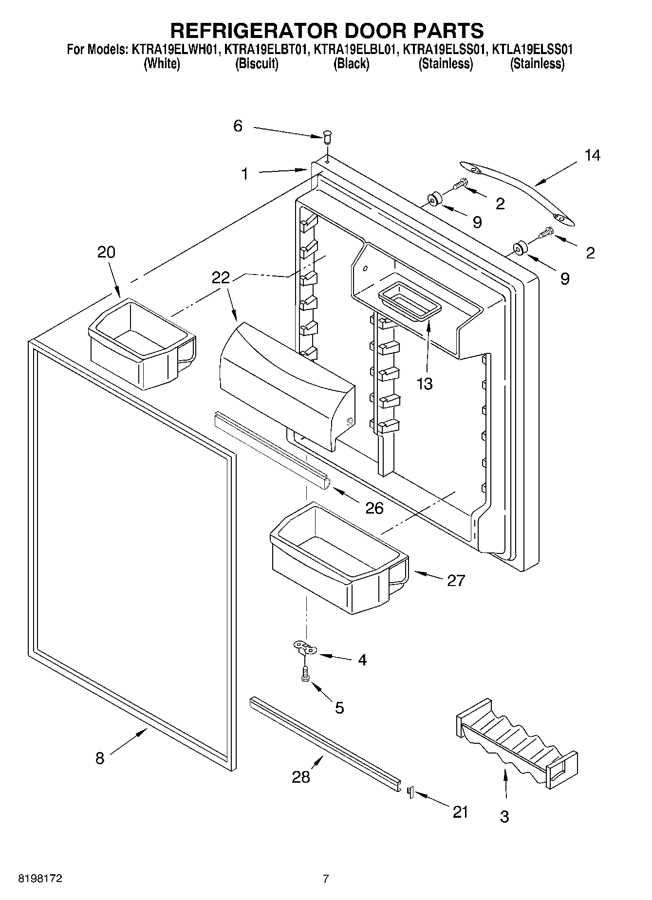
KTRA19ELSS01 04 – REFRIGERATOR DOORadmin2025-04-26T13:02:58+00:00KTRA19ELSS01 04 – REFRIGERATOR DOOR ProductsPositionProduct1Refrigerator Door (Stainless, Left Hand (Includes No.6 & No.8))1Refrigerator Door (White)1Refrigerator Door (Black)1Refrigerator Door (Biscuit)1Refrigerator Door (Stainless, Right Hand)2WP489463 Whirlpool Refrigerator Screw3Beverage Holder4W11745278 Whirlpool Bracket5WP488921 Whirlpool Refrigerator Screw6WP2183003 Whirlpool Thimble82177305 Whirlpool Refrigerator Door FIP Gasket82159057 Whirlpool Refrigerator Fresh Food Door Gasket9WPW10170540 Whirlpool Screw13Butter Tray14Handle (Black)14Handle (Biscuit)14Handle (White)14Handle (Stainless)20Bin, Door Shelf (3)21WP2156006 Whirlpool Refrigerator Shelf Trim Endcap22Door, Compartment26Gasket, Door Compartment27Bin, Door Shelf28LEFT HAND DOOR SWING (Biscuit)28LEFT HAND DOOR SWING (Black)28LEFT HAND DOOR SWING (White)28WPW10421484 Whirlpool Refrigerator Door Trim