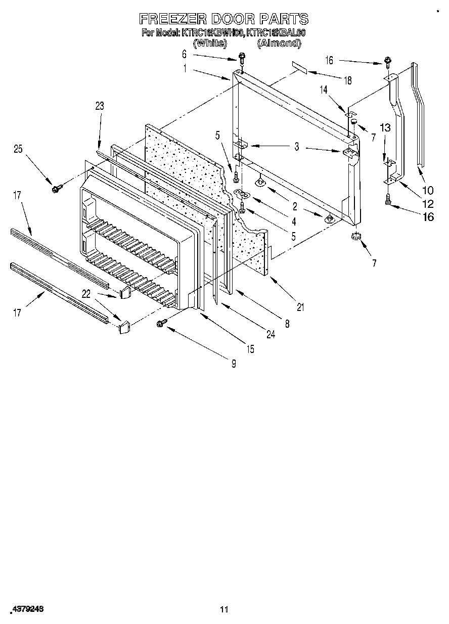
KTRC18KBWH00 07 – FREEZER DOORadmin2025-04-26T13:03:53+00:00KTRC18KBWH00 07 – FREEZER DOOR ProductsPositionProduct1Panel, Freezer Door (Also Order Item 21) (Almond)1Panel, Freezer Door (Also Order Item 21) (White)2Hole Plug (2)2Hole Plug (2) (Almond)3W10833053 Whirlpool Refrigerator Plate4Bracket, Door Stop5WP488921 Whirlpool Refrigerator Screw6WP8281206 Whirlpool Refrigerator Screw7WP2212648 Whirlpool Refrigerator Hinge Sleeve Hole Plug7Hole Plug (Almond)8Door Gasket, Magnetic9WP489069 Whirlpool Compactor Screw10Insert, Handle (White)10Insert, Handle (Almond)12Handle13Shim, Bottom14Spacer, Handle15Interior Door Panel16WP488920 Whirlpool Refrigerator Screw17Trim, Door Shelf (2)18Nameplate (White Model)18Nameplate (Almond Model)21WPL 876029224386917 Whirlpool Endcap Kit23WPL 111513724WPL 111513825WP488729 Whirlpool Refrigerator Door Screw