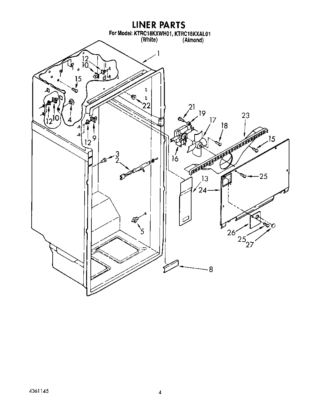
KTRC18KXAL01 02 – LINER