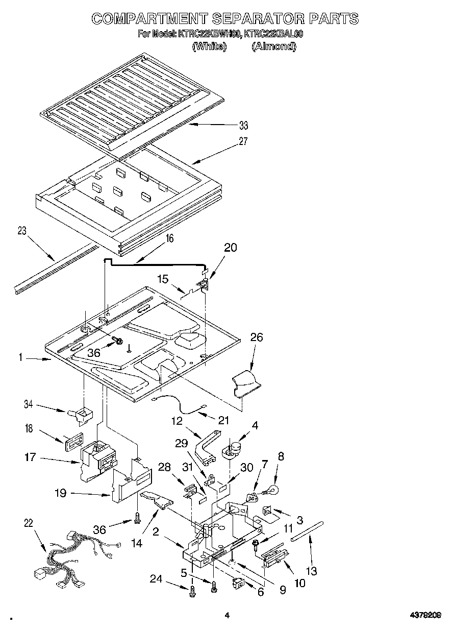
KTRC22KBAL00 03 – COMPARTMENT SEPARATOR