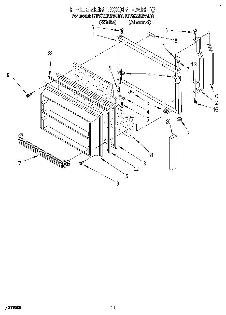
KTRC22KBWH00 07 – FREEZER DOORadmin2025-04-26T13:07:18+00:00KTRC22KBWH00 07 – FREEZER DOOR
Products
| Position | Product |
|---|
| 1 | Panel, Freezer Door (Also Order Item 21) (Almond) |
| 1 | Panel, Freezer Door (Also Order Item 21) (White) |
| 2 | Hole Plug (2) |
| 2 | Hole Plug (2) (Almond) |
| 3 | W10833053 Whirlpool Refrigerator Plate |
| 4 | Bracket, Door Stop |
| 5 | WP488921 Whirlpool Refrigerator Screw |
| 6 | WP8281206 Whirlpool Refrigerator Screw |
| 7 | WP2212648 Whirlpool Refrigerator Hinge Sleeve Hole Plug |
| 7 | Hole Plug (Almond) |
| 8 | 2188460A Whirlpool Refrigerator Door Gasket |
| 9 | WP489069 Whirlpool Compactor Screw |
| 9 | WP488729 Whirlpool Refrigerator Door Screw |
| 10 | Insert, Handle (Almond) |
| 10 | Insert, Handle (White) |
| 12 | Handle |
| 13 | Shim, Bottom |
| 14 | Spacer, Handle |
| 15 | Interior Door Panel |
| 16 | WP488920 Whirlpool Refrigerator Screw |
| 17 | Shelf Bin, Fixed |
| 18 | Nameplate (White Model) |
| 18 | Nameplate (Almond Model) |
| 20 | Dike, Door (2) |
| 21 | WPL 876029 |
| 22 | Retainer, Gasket |
| 23 | Gasket Retainer, Top & Bottom |