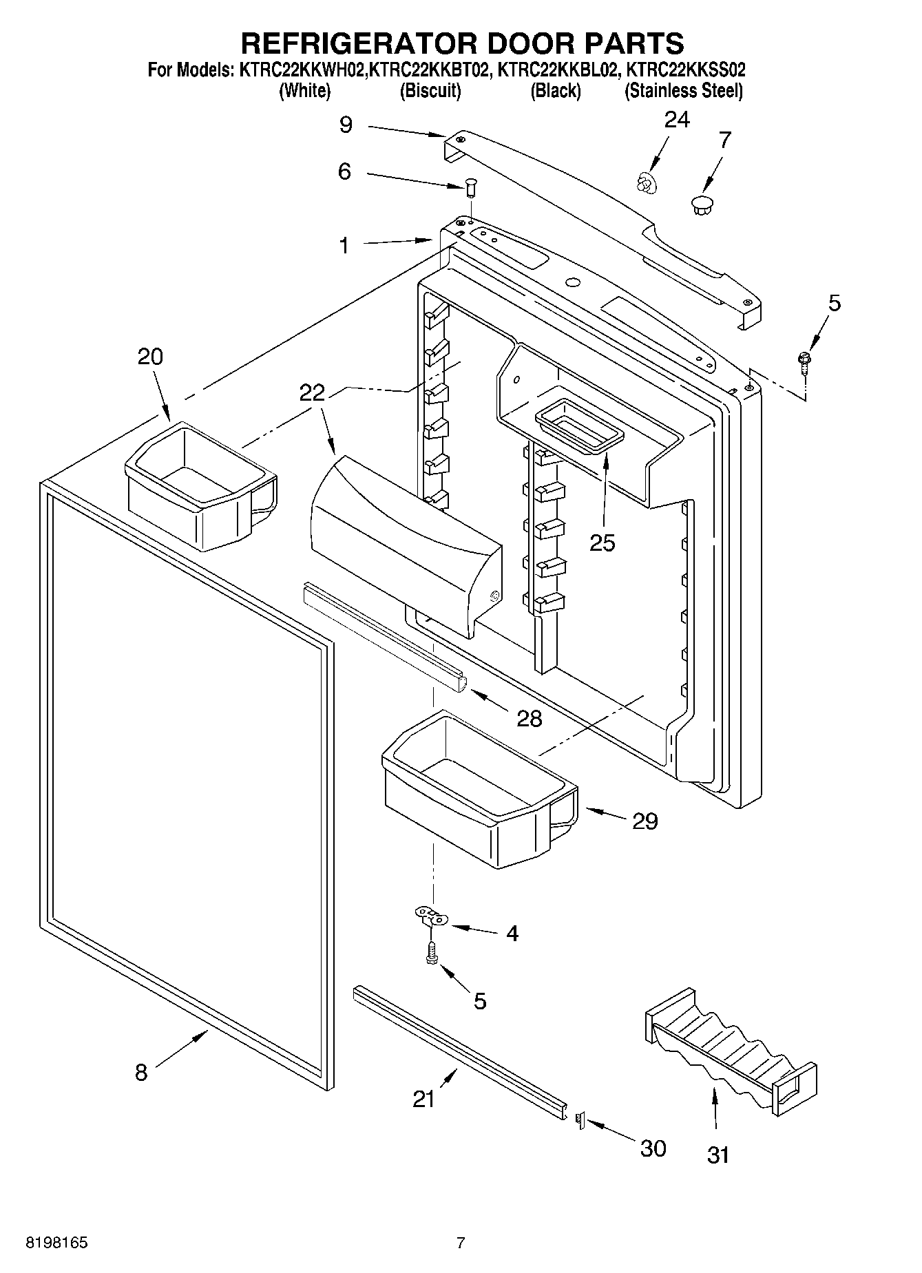
KTRC22KKBT02 04 – REFRIGERATOR DOORadmin2025-04-26T13:03:05+00:00KTRC22KKBT02 04 – REFRIGERATOR DOOR ProductsPositionProduct1Refrigerator Door (Includes Illus. 6 & 8) (Biscuit)1Refrigerator Door (Includes Illus. 6 & 8) (Stainless Steel)1Refrigerator Door (Includes Illus. 6 & 8) (Black)1Refrigerator Door (Includes Illus. 6 & 8) (White)4W11745278 Whirlpool Bracket5WP681249 Whirlpool Screw Assembly6WP2183003 Whirlpool Thimble7WP2212651 Whirlpool Refrigerator Button Plug7WP2212649 Whirlpool Refrigerator Button Plug7WP2212648 Whirlpool Refrigerator Hinge Sleeve Hole Plug82159061 Whirlpool Refrigerator Door Gasket82177311 Whirlpool Refrigerator Magnetic Door Gasket9Handle (White)9Handle (Black)9Handle (Biscuit)20Bin, Door Shelf (2)21WPW10421486 Whirlpool Refrigerator Door Trim22Door, Compartment24HOLE PLUG, ENDCAP (WHITE)24Hole Plug, Handle (Biscuit)24HOLE PLUG, ENDCAP (BLACK)25Butter Tray28Gasket, Door Compartment29Bin, Door Shelf30WP2156006 Whirlpool Refrigerator Shelf Trim Endcap31Beverage Holder