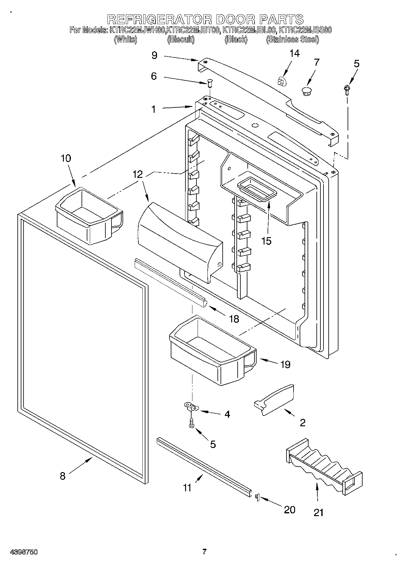
KTRC22MJSS00 04 – REFRIGERATOR DOORadmin2025-04-26T13:04:08+00:00KTRC22MJSS00 04 – REFRIGERATOR DOOR ProductsPositionProduct1Refrigerator Door (Includes Illus. 6 & 8) (Stainless Steel)1Refrigerator Door (Includes Illus. 6 & 8) (Black)1Refrigerator Door (Includes Illus. 6 & 8) (Biscuit)1Refrigerator Door (Includes Illus. 6 & 8) (White)2Divider-Door4W11745278 Whirlpool Bracket5WP681249 Whirlpool Screw Assembly6WP2183003 Whirlpool Thimble7WP2212648 Whirlpool Refrigerator Hinge Sleeve Hole Plug7WP2212649 Whirlpool Refrigerator Button Plug7WP2212651 Whirlpool Refrigerator Button Plug82177311 Whirlpool Refrigerator Magnetic Door Gasket82159061 Whirlpool Refrigerator Door Gasket9Handle (Black)9Handle (Biscuit)9Handle (White)10Bin, Door Shelf (2)11WPW10421486 Whirlpool Refrigerator Door Trim12WP2313637 Whirlpool Cutting Grid Assembly14HOLE PLUG, ENDCAP (WHITE)14Hole Plug, Handle (Biscuit)14HOLE PLUG, ENDCAP (BLACK)15Butter Tray18Gasket, Door Compartment19Bin, Door Shelf20WP2156006 Whirlpool Refrigerator Shelf Trim Endcap21Beverage Holder