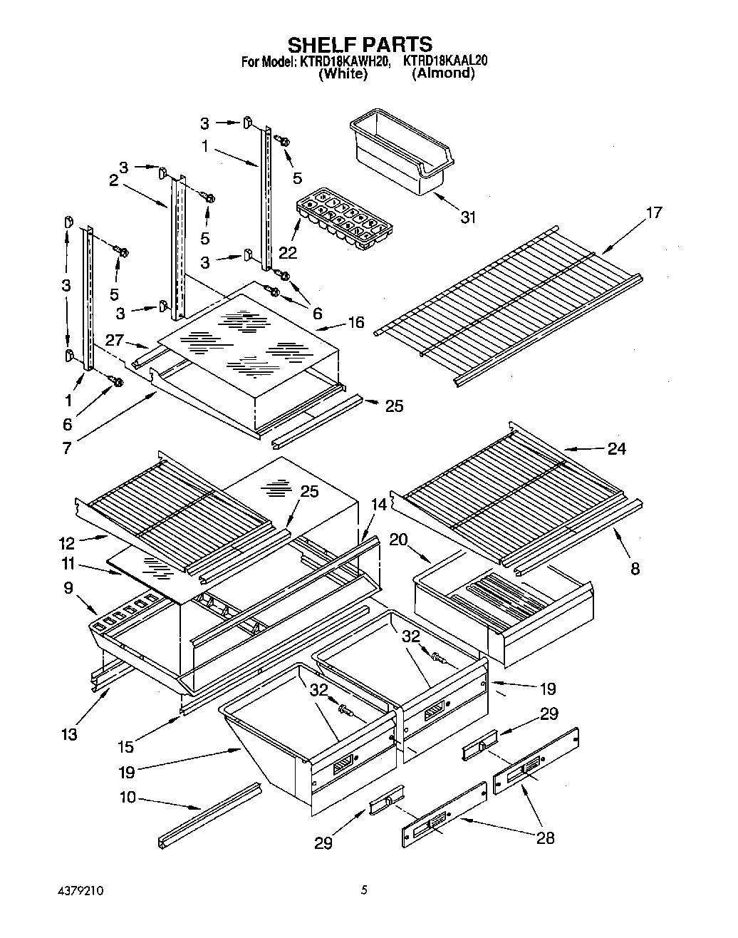
KTRD18KAWH20 04 – SHELF, LIT/OPTIONAL

KTRD18KAWH20 04 – SHELF, LIT/OPTIONAL