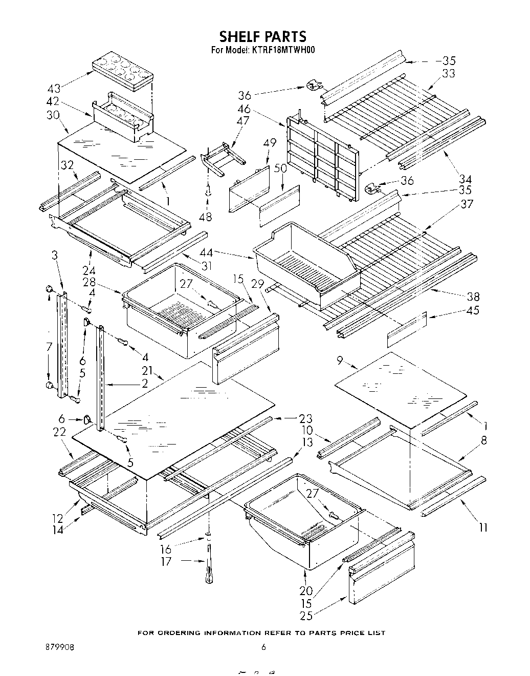
KTRF18MTAL00 04 – SHELF