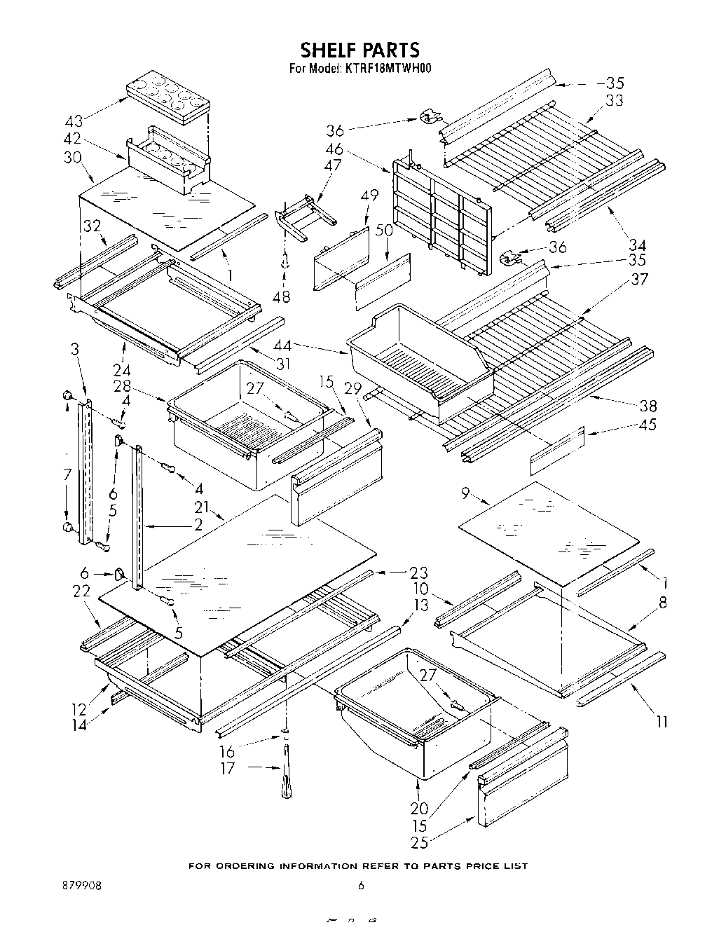
KTRF18MTTO00 04 – SHELF