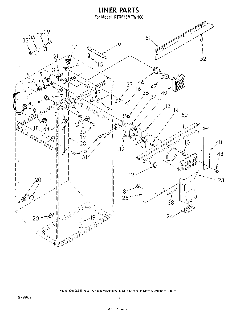
KTRF18MTWH00 07 – LINER