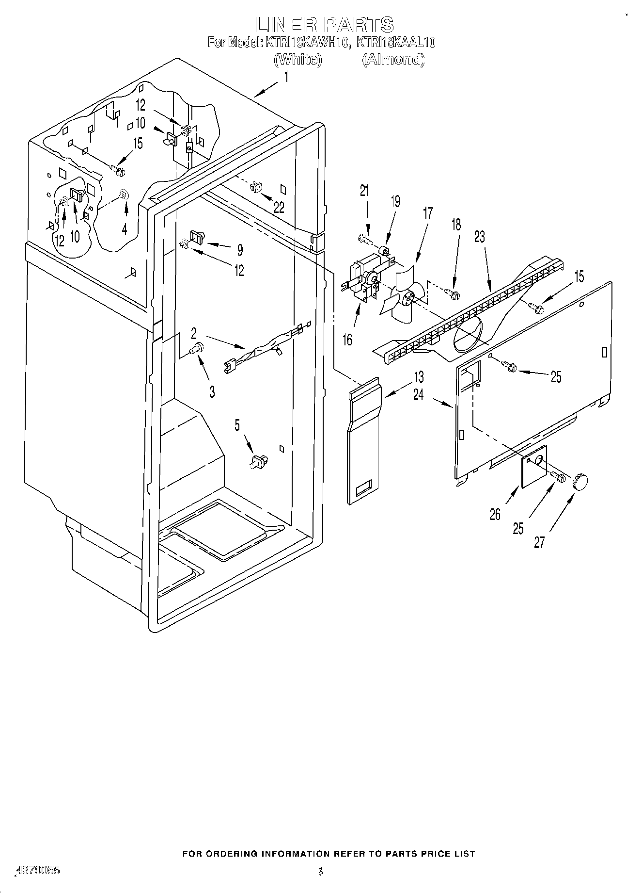
KTRI18KAAL10 02 – LINER