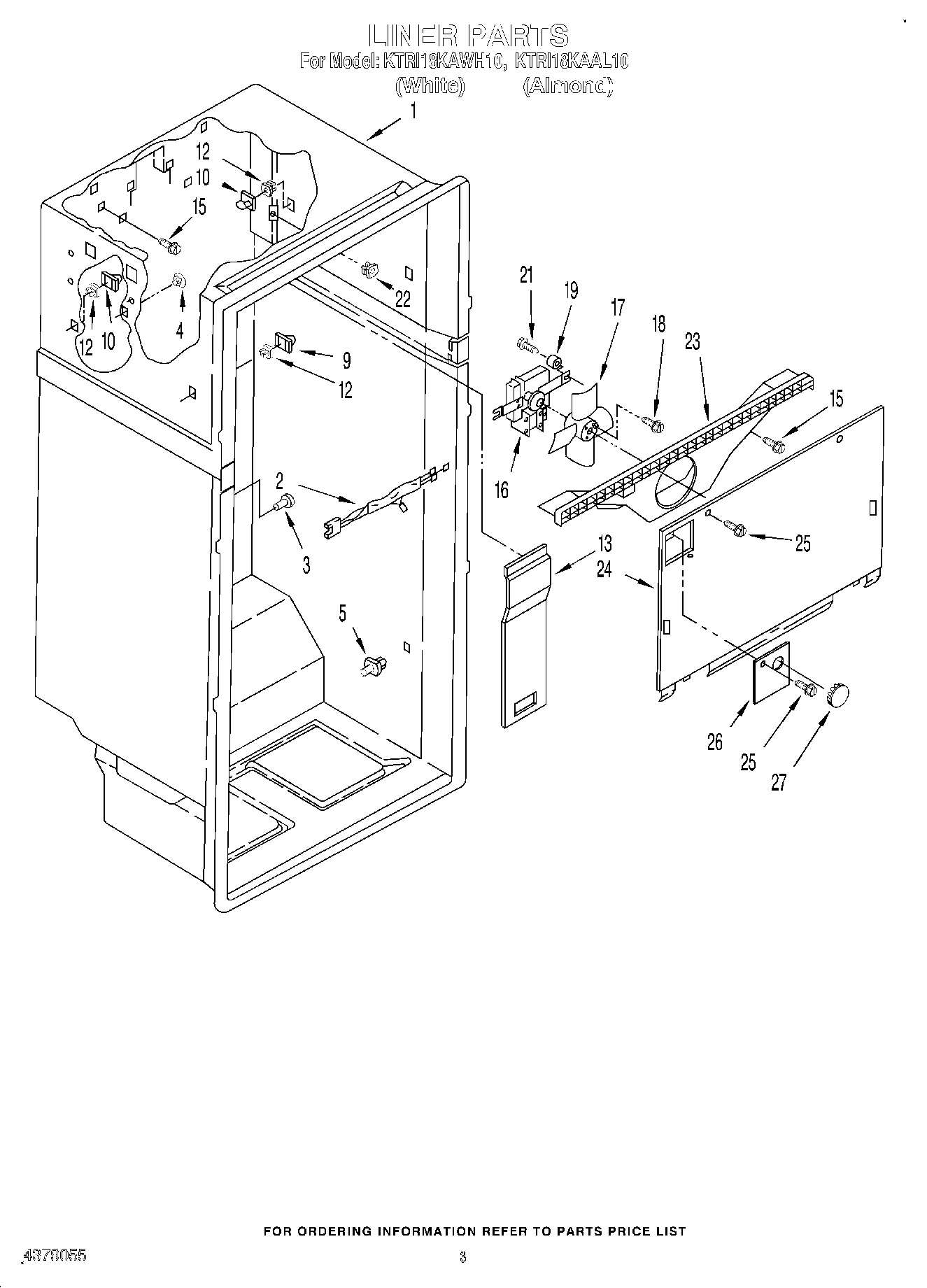
KTRI18KAWH10 02 – LINER