KTRP18KDAL01 04 – REFRIGERATOR DOORadmin2025-04-26T12:32:07+00:00KTRP18KDAL01 04 – REFRIGERATOR DOOR
Products
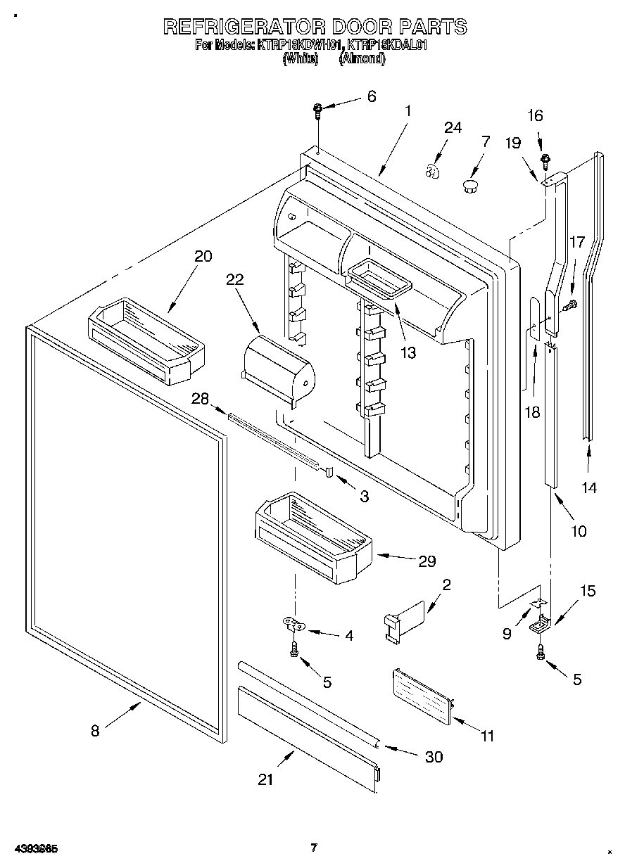
| Position | Product |
|---|
| 1 | Panel, Refrigerator Door (Includes Item 8) (Almond) |
| 1 | Panel, Refrigerator Door (Includes Item 8) (White) |
| 2 | Divider (3) |
| 3 | ENDCAP-TRM |
| 4 | Bracket, Door Stop |
| 5 | WP488921 Whirlpool Refrigerator Screw |
| 6 | WP8281206 Whirlpool Refrigerator Screw |
| 7 | Hole Plug (Almond) |
| 7 | WP2212648 Whirlpool Refrigerator Hinge Sleeve Hole Plug |
| 8 | 2159057 Whirlpool Refrigerator Fresh Food Door Gasket |
| 9 | Shim, Bottom |
| 10 | Retainer, Insert |
| 11 | WP2188234 Whirlpool Shelf |
| 13 | Butter, Tray |
| 14 | Insert, Handle (White) |
| 14 | Insert, Handle (Almond) |
| 15 | Handle End |
| 16 | WP488920 Whirlpool Refrigerator Screw |
| 17 | WP488729 Whirlpool Refrigerator Door Screw |
| 18 | Spacer, Handle |
| 19 | Handle |
| 20 | Bin, Door Shelf (Narrow) (2) |
| 21 | WPW10421484 Whirlpool Refrigerator Door Trim |
| 22 | WP2218113 Whirlpool Dairy Door |
| 24 | WP2189000 Whirlpool Refrigerator Handle Plug |
| 24 | Hole Plug, Handle (Almond) |
| 28 | TRIM-DOOR |
| 29 | Bin, Door Shelf (Wide) (2) |