KTRP20KDAL01 04 – REFRIGERATOR DOORadmin2025-04-26T12:31:54+00:00KTRP20KDAL01 04 – REFRIGERATOR DOOR
Products
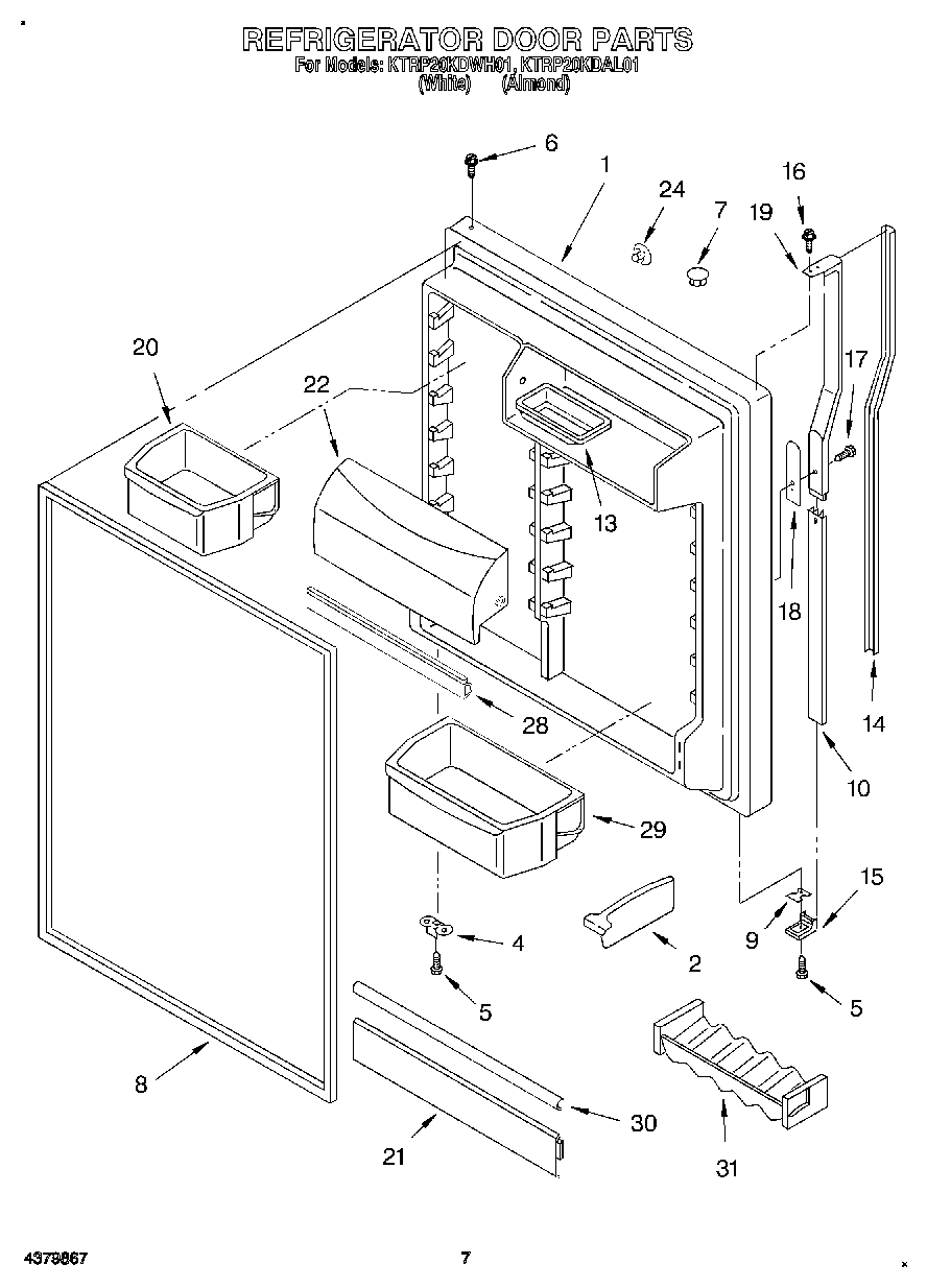
| Position | Product |
|---|
| 1 | Refrigerator Door (Includes No.8) (Almond) |
| 1 | Refrigerator Door (Includes No.8) (White) |
| 2 | Divider, Door Bin (2) |
| 4 | Bracket, Door Stop |
| 5 | WP488921 Whirlpool Refrigerator Screw |
| 6 | WP8281206 Whirlpool Refrigerator Screw |
| 7 | Hole Plug (Almond) |
| 7 | WP2212648 Whirlpool Refrigerator Hinge Sleeve Hole Plug |
| 8 | Door Gasket, Magnetic |
| 9 | Shim, Bottom |
| 10 | Retainer, Insert |
| 13 | Butter, Tray |
| 14 | Insert, Handle (White) |
| 14 | Insert, Handle (Almond) |
| 15 | Handle End |
| 16 | WP488920 Whirlpool Refrigerator Screw |
| 17 | WP488729 Whirlpool Refrigerator Door Screw |
| 18 | Spacer, Handle |
| 19 | Handle |
| 20 | Bin, Door Shelf Narrow (3) |
| 21 | WPW10421486 Whirlpool Refrigerator Door Trim |
| 22 | WP2313637 Whirlpool Cutting Grid Assembly |
| 24 | Hole Plug, Handle (Almond) |
| 24 | WP2189000 Whirlpool Refrigerator Handle Plug |
| 28 | Gasket, Door Compartment |
| 29 | Bin, Door Shelf |
| 31 | WPL 1125981 |