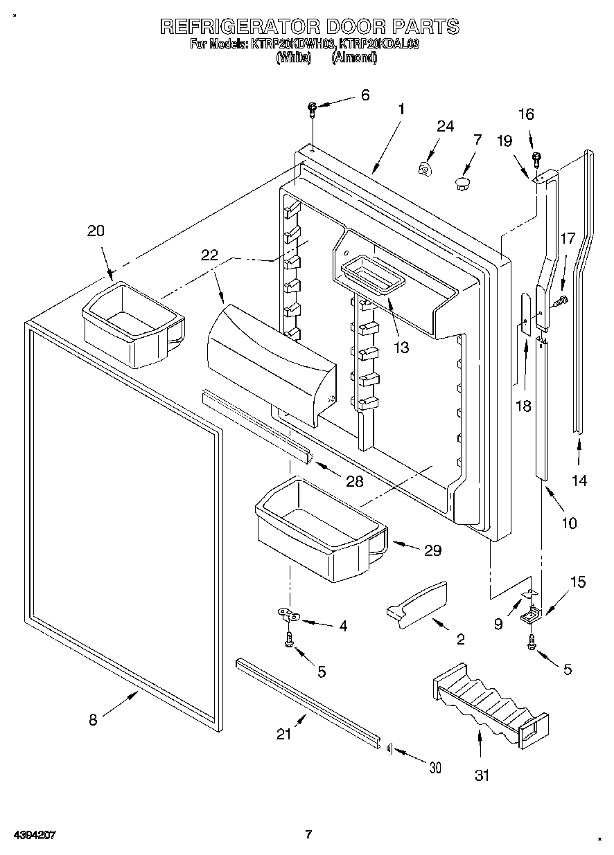
KTRP20KDAL03 04 – REFRIGERATOR DOOR