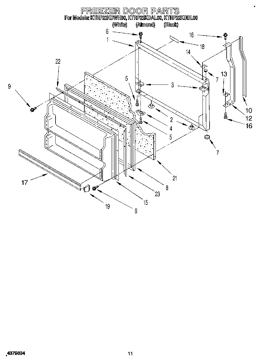
KTRP22KDAL00 07 – FREEZER DOOR