KTRS19KFAL01 04 – REFRIGERATOR DOORadmin2025-04-26T12:34:23+00:00KTRS19KFAL01 04 – REFRIGERATOR DOOR
Products
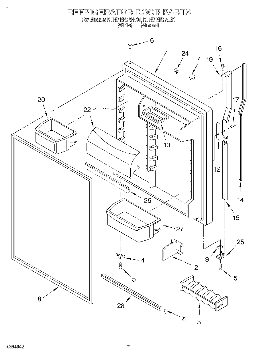
| Position | Product |
|---|
| 1 | Refrigerator Door (Includes No.6 & No.8) (Almond) |
| 1 | Refrigerator Door (Includes No.6 & No.8) (White) |
| 2 | Divider-Door |
| 3 | Beverage Holder |
| 4 | W11745278 Whirlpool Bracket |
| 5 | WP488921 Whirlpool Refrigerator Screw |
| 6 | WP2183003 Whirlpool Thimble |
| 7 | WP2212648 Whirlpool Refrigerator Hinge Sleeve Hole Plug |
| 7 | Hole Plug (Almond) |
| 8 | 2159057 Whirlpool Refrigerator Fresh Food Door Gasket |
| 9 | Shim, Bottom |
| 12 | Spacer, Handle |
| 13 | Butter Tray |
| 14 | Insert, Handle (White) |
| 14 | Insert, Handle (Almond) |
| 15 | Retainer, Insert |
| 16 | WP488920 Whirlpool Refrigerator Screw |
| 17 | WP488729 Whirlpool Refrigerator Door Screw |
| 19 | Handle |
| 20 | Bin, Door Shelf (3) |
| 21 | WP2156006 Whirlpool Refrigerator Shelf Trim Endcap |
| 22 | WP2313637 Whirlpool Cutting Grid Assembly |
| 24 | Hole Plug (Almond) |
| 24 | WP2189000 Whirlpool Refrigerator Handle Plug |
| 25 | Handle End |
| 26 | Gasket, Door Compartment |
| 27 | Bin, Door Shelf |
| 28 | WPW10421484 Whirlpool Refrigerator Door Trim |
| 100 | FeaturePak (Includes 4,8,10, 14,16,20,41,45) Also See Ref. & Frz.Dr. Pgs. |