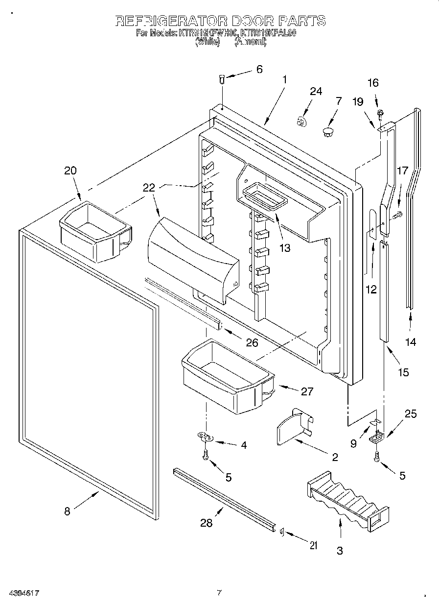
KTRS19KFWH00 04 – REFRIGERATOR DOORadmin2025-04-26T12:31:57+00:00KTRS19KFWH00 04 – REFRIGERATOR DOOR ProductsPositionProduct1Refrigerator Door (Includes No.6 & No.8) (Almond)1Refrigerator Door (Includes No.6 & No.8) (White)2Divider-Door3Beverage Holder4W11745278 Whirlpool Bracket5WP488921 Whirlpool Refrigerator Screw6WP2183003 Whirlpool Thimble7WP2212648 Whirlpool Refrigerator Hinge Sleeve Hole Plug7Hole Plug (Almond)82159057 Whirlpool Refrigerator Fresh Food Door Gasket9Shim, Bottom12Spacer, Handle13Butter Tray14Insert, Handle (Almond)14Insert, Handle (White)15Retainer, Insert16WP488920 Whirlpool Refrigerator Screw17WP488729 Whirlpool Refrigerator Door Screw19Handle20Bin, Door Shelf (3)21WP2156006 Whirlpool Refrigerator Shelf Trim Endcap22WP2313637 Whirlpool Cutting Grid Assembly24WP2189000 Whirlpool Refrigerator Handle Plug24Hole Plug (Almond)25Handle End26Gasket, Door Compartment27Bin, Door Shelf28WPW10421484 Whirlpool Refrigerator Door Trim