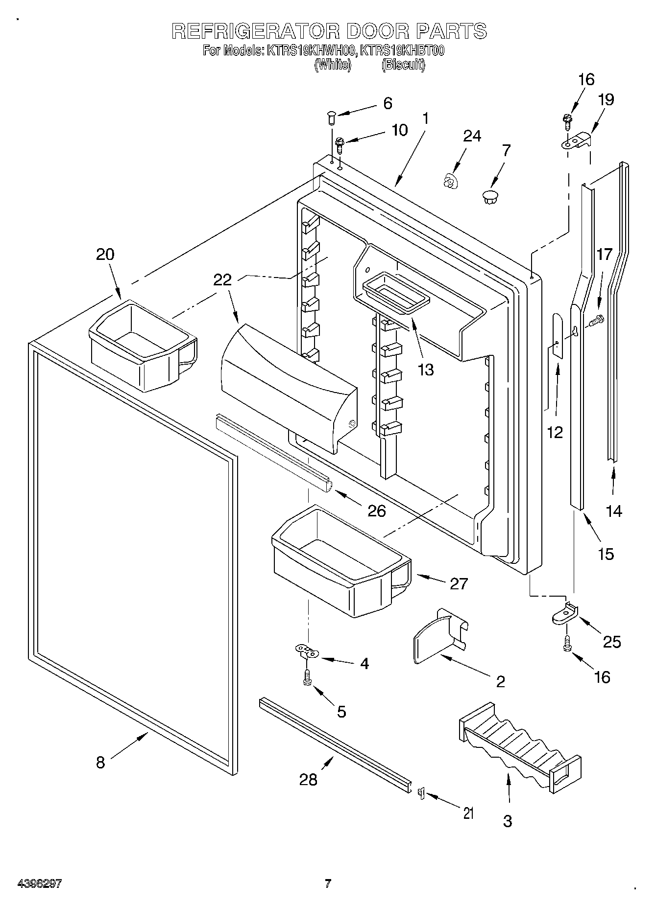
KTRS19KHWH00 04 – REFRIGERATOR DOORadmin2025-04-26T12:32:28+00:00KTRS19KHWH00 04 – REFRIGERATOR DOOR ProductsPositionProduct1Refrigerator Door (Biscuit (Includes No.6 & No.8))1Refrigerator Door (Includes No.6 & No.8) (White)2Divider-Door3Beverage Holder4W11745278 Whirlpool Bracket5WP488921 Whirlpool Refrigerator Screw6WP2183003 Whirlpool Thimble7WP2212648 Whirlpool Refrigerator Hinge Sleeve Hole Plug7WP2212649 Whirlpool Refrigerator Button Plug82159057 Whirlpool Refrigerator Fresh Food Door Gasket10WP8281206 Whirlpool Refrigerator Screw12Spacer13Butter Tray14Insert, Handle (Biscuit)14Insert, Handle (White)15Retainer, Insert (White)15Retainer, Insert (Biscuit)16WP489357 Whirlpool Recessed Screw17Screw19Endcap (Biscuit)19Endcap20Bin, Door Shelf (3)21WP2156006 Whirlpool Refrigerator Shelf Trim Endcap22WP2313637 Whirlpool Cutting Grid Assembly24WP2189000 Whirlpool Refrigerator Handle Plug24WP2200936 Whirlpool Refrigerator Handle Plug25Endcap, Bottom (Biscuit)25Endcap, Handle (White)26Gasket, Door Compartment27Bin, Door Shelf28WPW10421484 Whirlpool Refrigerator Door Trim