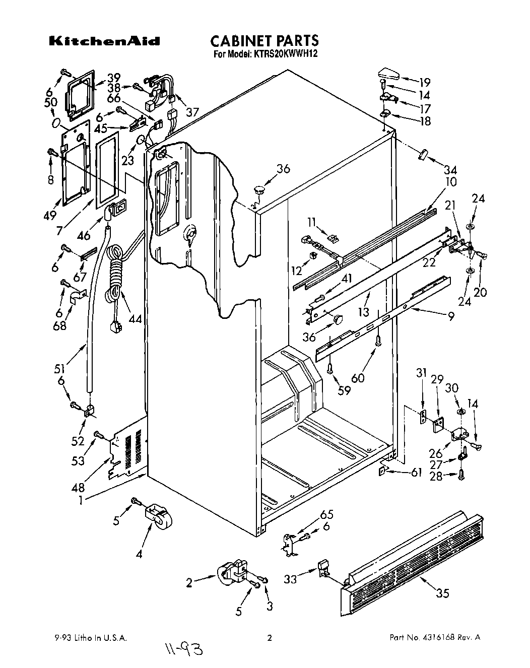
KTRS20KWAL12 01 – CABINET