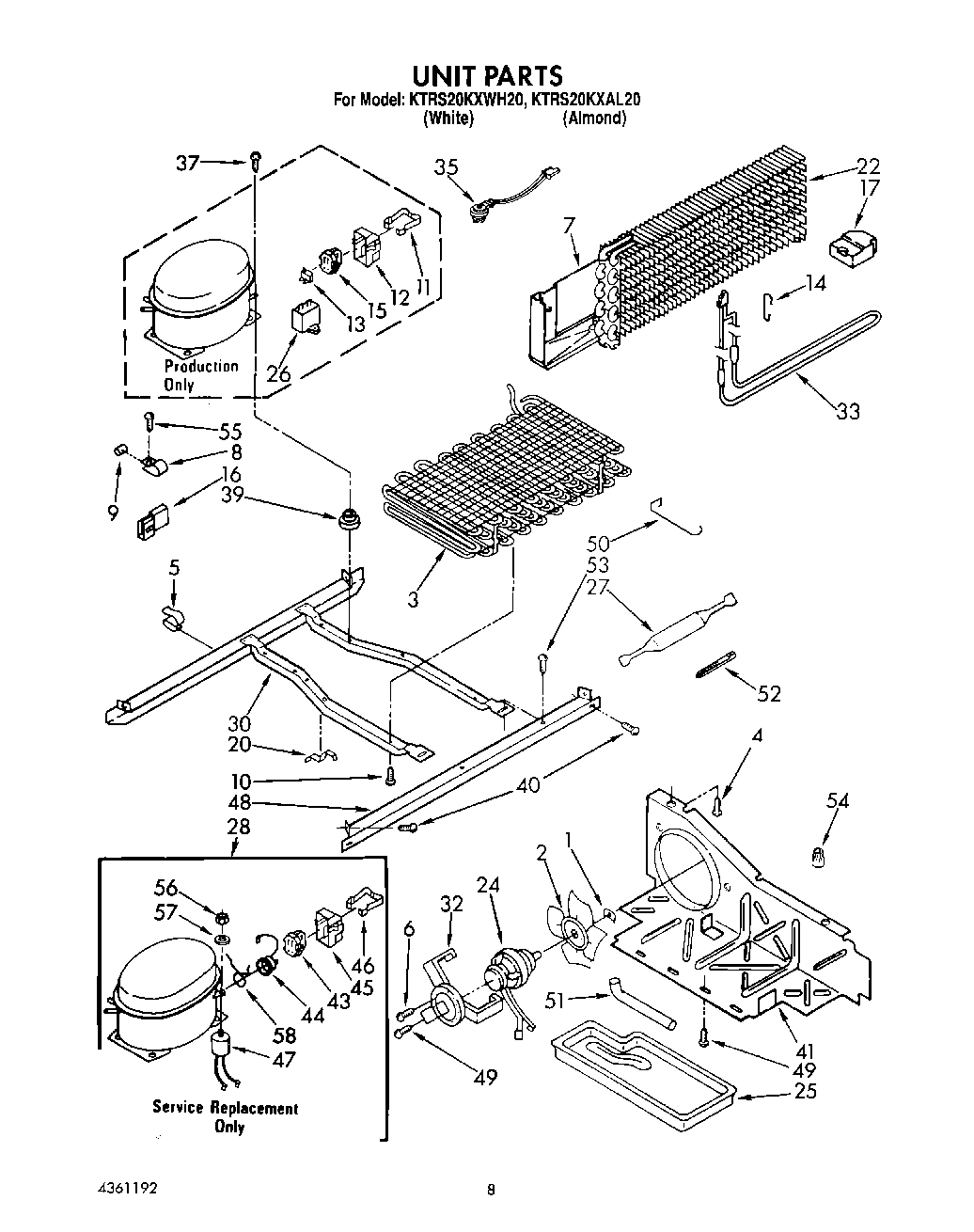
KTRS20KXWH20 06 – UNIT

KTRS20KXWH20 06 – UNIT