KTRS22KDAL01 06 – REFRIGERATOR DOORadmin2025-04-26T12:44:32+00:00KTRS22KDAL01 06 – REFRIGERATOR DOOR
Products
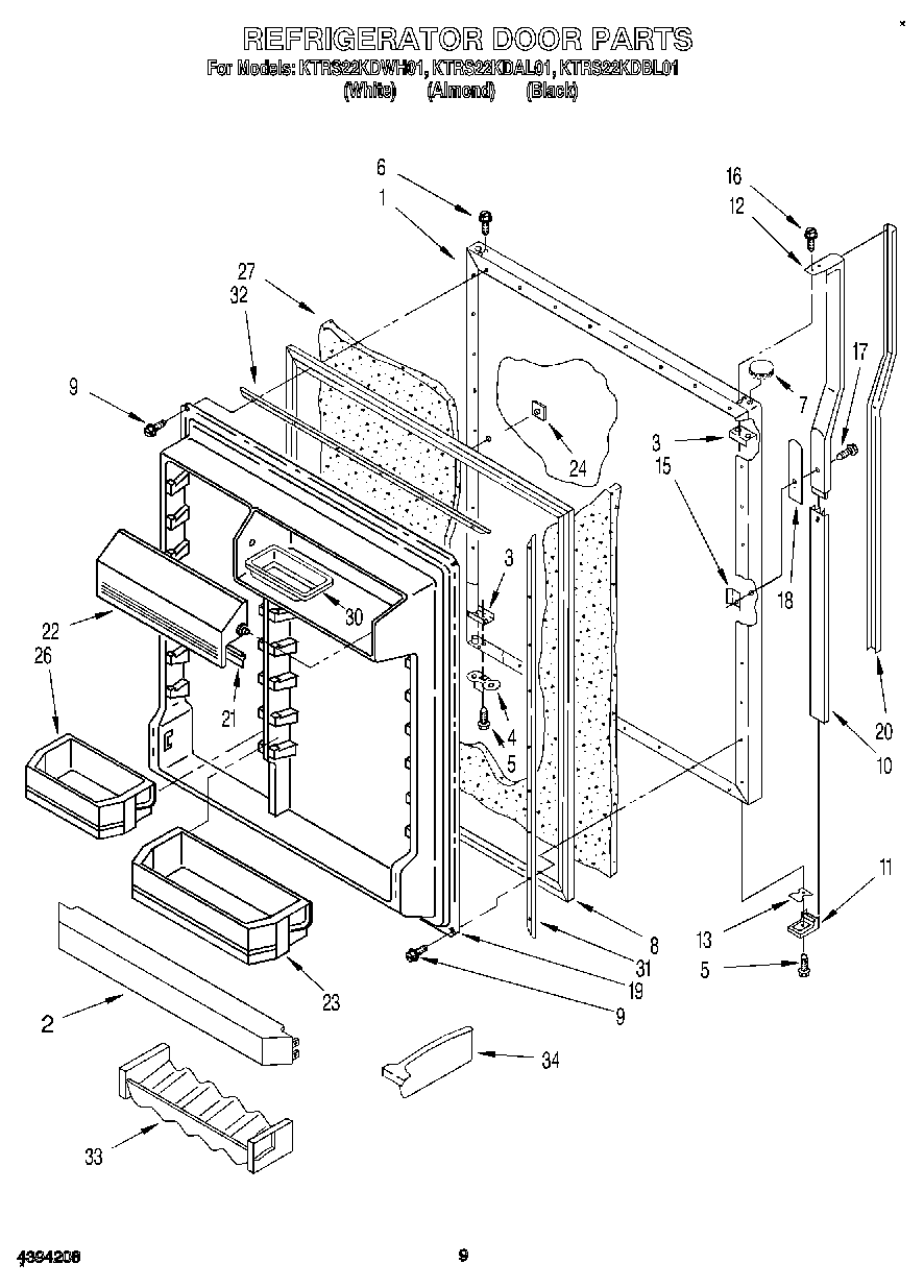
| Position | Product |
|---|
| 1 | Panel, Refrigerator Door (Also Order Item 27) (Almond) |
| 1 | Panel, Refrigerator Door (Also Order Item 27) (White) |
| 1 | Panel, Refrigerator Door (Black (Also Order Item 27)) |
| 2 | Trivet, Door |
| 3 | W10833053 Whirlpool Refrigerator Plate |
| 4 | Bracket, Door Stop |
| 5 | WP488921 Whirlpool Refrigerator Screw |
| 6 | WP8281206 Whirlpool Refrigerator Screw |
| 7 | Hole Plug (Almond) |
| 7 | WP2212651 Whirlpool Refrigerator Button Plug |
| 7 | WP2212648 Whirlpool Refrigerator Hinge Sleeve Hole Plug |
| 8 | 2188450A Whirlpool Refrigerator Door Gasket |
| 9 | WP489442 Whirlpool Refrigerator Screw |
| 10 | Retainer, Insert |
| 11 | Handle End |
| 12 | Handle |
| 13 | Shim, Bottom |
| 15 | WP939101 Whirlpool Refrigerator Plate |
| 16 | WP488920 Whirlpool Refrigerator Screw |
| 17 | WP488729 Whirlpool Refrigerator Door Screw |
| 18 | Spacer, Handle |
| 19 | Interior Door Panel |
| 20 | Insert, Handle (Black) |
| 20 | Insert, Handle (Almond) |
| 20 | Insert, Handle (White) |
| 21 | Gasket, Door Compartment |
| 22 | Compartment Door |
| 23 | Bin, Door Shelf |
| 24 | Hole Plug, Handle (Almond) |
| 24 | WP2189009 Whirlpool Refrigerator Handle Plug |
| 24 | WP2189000 Whirlpool Refrigerator Handle Plug |
| 26 | Bin, Door Shelf Narrow (3) |
| 27 | WPL 876029 |
| 30 | Butter, Tray |
| 31 | Gasket, Retainer |
| 32 | Gasket Retainer, Top & Bottom |
| 33 | WPL 1125981 |
| 34 | Divider, Door Bin (2) |