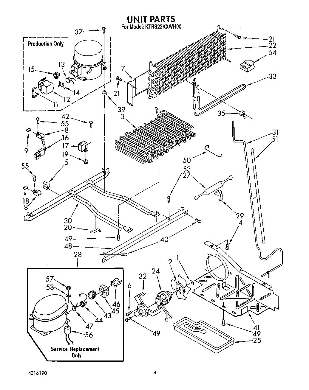
KTRS22KXAL00 06 – UNIT

KTRS22KXAL00 06 – UNIT