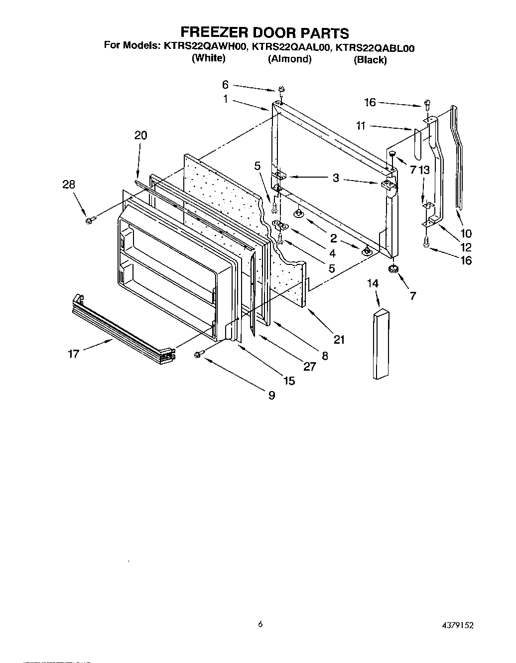
KTRS22QAAL00 04 – FREEZER DOOR