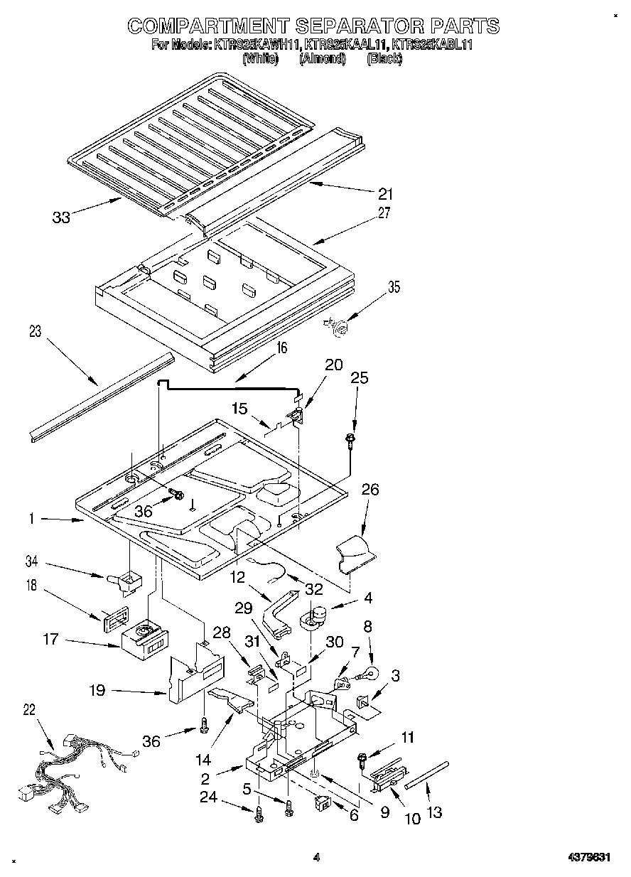
KTRS25KAAL11 03 – COMPARTMENT SEPARATOR