KTRS25KDWH00 05 – FREEZER DOORadmin2025-04-26T12:42:27+00:00KTRS25KDWH00 05 – FREEZER DOOR
Products
| Position | Product |
|---|
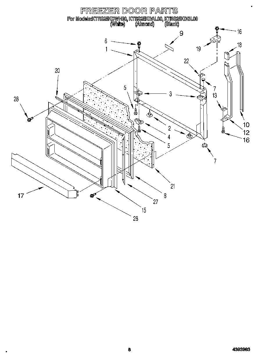
| 1 | Panel, Freezer Door (Also Order Item 21) (White) |
| 1 | Panel, Freezer Door (Also Order Item 21) (Almond) |
| 1 | Panel, Freezer Door (Also Order Item 21) (Black) |
| 2 | Hole Plug (2) (Black) |
| 2 | Hole Plug (2) |
| 2 | Hole Plug (2) (Almond) |
| 3 | W10833053 Whirlpool Refrigerator Plate |
| 4 | Bracket, Door Stop |
| 5 | WP488921 Whirlpool Refrigerator Screw |
| 6 | WP8281206 Whirlpool Refrigerator Screw |
| 7 | WP2212648 Whirlpool Refrigerator Hinge Sleeve Hole Plug |
| 7 | WP2212651 Whirlpool Refrigerator Button Plug |
| 7 | Hole Plug (Almond) |
| 8 | Door Gasket Magnetic |
| 9 | Nameplate (Almond Model) |
| 9 | Nameplate (Black) |
| 9 | Nameplate (White Model) |
| 10 | Insert, Handle (White) |
| 10 | Insert, Handle (Black) |
| 10 | Insert, Handle (Almond) |
| 12 | Handle |
| 13 | Spacer |
| 15 | Interior Door Panel |
| 16 | WP488920 Whirlpool Refrigerator Screw |
| 17 | Trivet, Door |
| 18 | Retainer, Insert |
| 19 | End Cap |
| 20 | Retainer, Gasket |
| 21 | WPL 876029 |
| 22 | Spacer, Handle |
| 27 | Retainer, Gasket |
| 28 | WP489442 Whirlpool Refrigerator Screw |