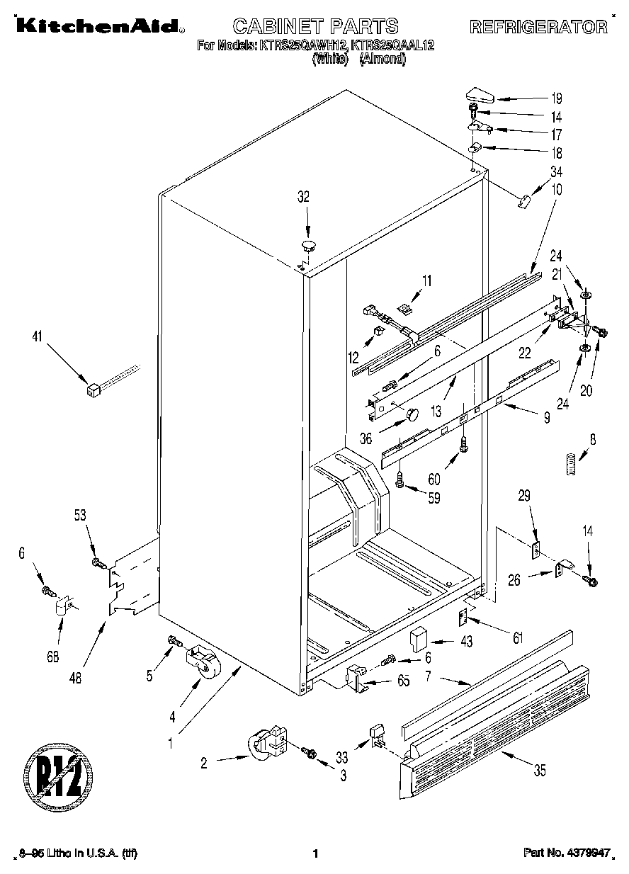
KTRS25QAAL12 01 – CABINET