KTRS25QDWH00 04 – COMPARTMENT SEPARATORadmin2025-04-26T12:42:31+00:00KTRS25QDWH00 04 – COMPARTMENT SEPARATOR
Products
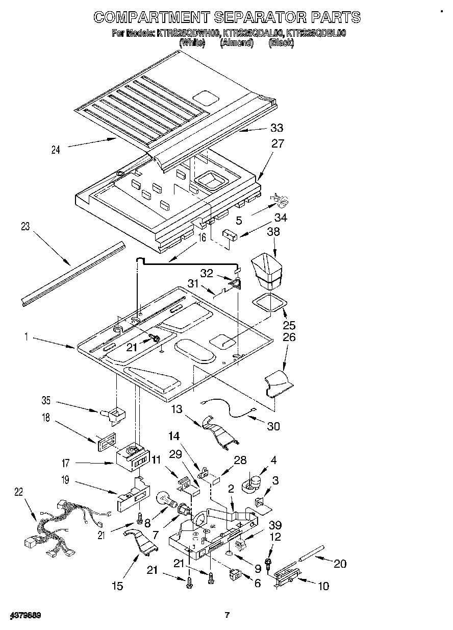
| Position | Product |
|---|
| 1 | Bottom, Compartment Separator |
| 2 | Box, Control |
| 3 | WP2149705 Whirlpool Refrigerator Door Switch |
| 4 | WP2183400 Whirlpool Defrost Timer |
| 5 | Clip, Thermostat Tube Retention |
| 6 | Switch, Toggle |
| 7 | SOCKET |
| 8 | W10887190 Whirlpool Refrigerator Light Bulb |
| 9 | 940014 Whirlpool Refrigerator Primary Button Plug |
| 10 | Thermostat |
| 11 | Slide, Thermostat |
| 12 | 2006254 Whirlpool Refrigerator Screw |
| 13 | Light, Bar Left |
| 14 | Slide, Air Control |
| 15 | Light, Bar Right |
| 16 | Rod, Connecting |
| 17 | Air Diffuser Assembly |
| 18 | Gasket, Air Diffuser |
| 19 | Cover, Air Diffuser |
| 20 | WP2196003 Whirlpool Refrigerator Bar Riser |
| 21 | WP489478 Whirlpool Refrigerator Screw |
| 22 | Wiring Assembly, Control Box |
| 23 | Gasket, Bottom Separator |
| 24 | Separator, Compartment (Rear) |
| 25 | Gasket, Ice Chute |
| 26 | Insulation, Filler |
| 27 | Insulation, Compartment Separator |
| 28 | Window, Air Control |
| 29 | Window, Thermostat |
| 30 | Wire Assembly |
| 31 | Short Rod |
| 32 | Pivot Arm |
| 33 | Separator, Compartment (Top) (Front) |
| 34 | Rubber Strip |
| 35 | Cup, Drain |
| 38 | Ice Chute, (Seperator) |
| 39 | WP4387911 Whirlpool Refrigerator Switch |