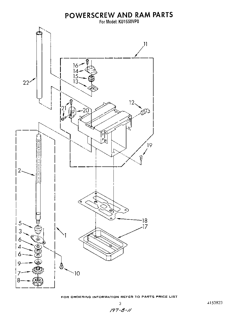
KU1550VP0 03 – POWERSCREW AND RAM