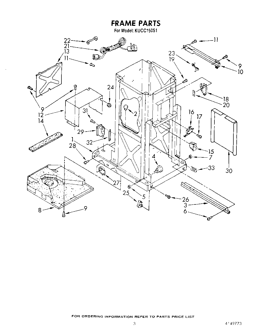
KUCC150S1 03 – FRAME