KUCC151DWH2 05 – PANEL AND CONTROLadmin2025-04-26T12:43:48+00:00KUCC151DWH2 05 – PANEL AND CONTROL
Products
| Position | Product |
|---|
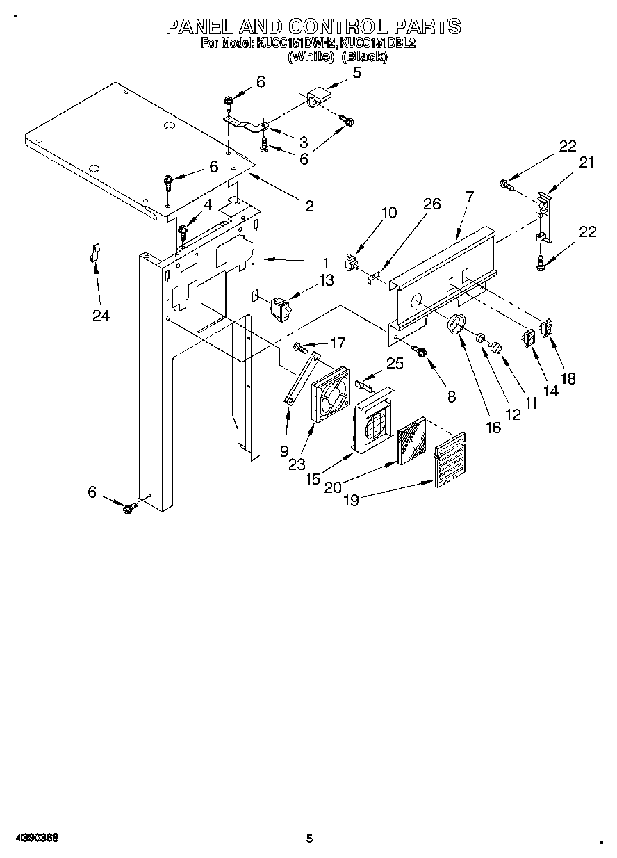
| 1 | 9871073 Whirlpool Compactor Panel |
| 2 | Cover, Top |
| 3 | W11729437 Whirlpool Retaining Bracket |
| 4 | Screw |
| 5 | WP780239 Whirlpool Compactor Bracket Retainer |
| 6 | WP489069 Whirlpool Compactor Screw |
| 7 | Escutcheon, Control (Black) |
| 7 | Escutcheon, Control (White) |
| 8 | Screw, 6-20 x 3/8 (2) |
| 9 | 4152703 Whirlpool Fan Strap |
| 10 | 675382 Whirlpool Trash Compactor On Off Start Top Limit Switch |
| 11 | WP9871799 Whirlpool Compactor Switch Knob |
| 11 | WP9871800 Whirlpool Compactor Switch Knob |
| 12 | WP777383 Whirlpool Compactor Nut |
| 13 | WP4387911 Whirlpool Refrigerator Switch |
| 14 | WP9872161 Whirlpool Compactor Switch Off |
| 15 | 9871893 Whirlpool Compactor Fan Filter |
| 16 | Bezel |
| 16 | Bezel (White) |
| 17 | WP3351614 Whirlpool Screw |
| 18 | Switch, Air Freshener (Black) |
| 18 | Switch, Air Freshener (White) |
| 19 | Cover, Air Freshener (White) |
| 19 | WP9871099 Whirlpool Air Freshener Cover |
| 20 | WP4151750 Whirlpool Charcoal Air Filter |
| 21 | End Cap (White, LH) |
| 21 | End Cap, Left Hand (White) |
| 21 | End Cap, Left Hand (Black Right Hand) |
| 21 | End Cap, Left Hand (Black) |
| 21 | End Cap |
| 25 | 4151897 Whirlpool Compactor Clip |
| 26 | Bracket, Switch |