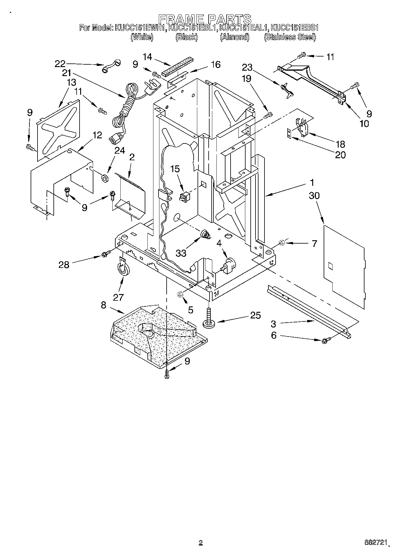
KUCC151EAL1 02 – FRAME