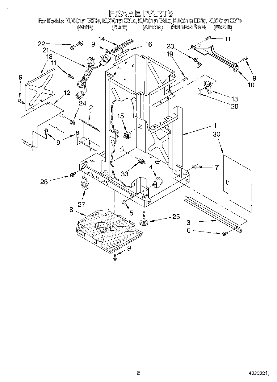
KUCC151EBL0 02 – FRAME