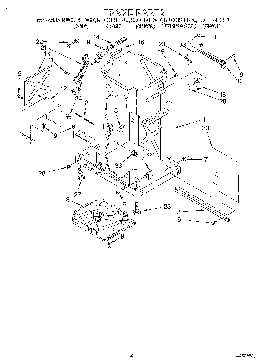
KUCC151EBS0 02 – FRAME