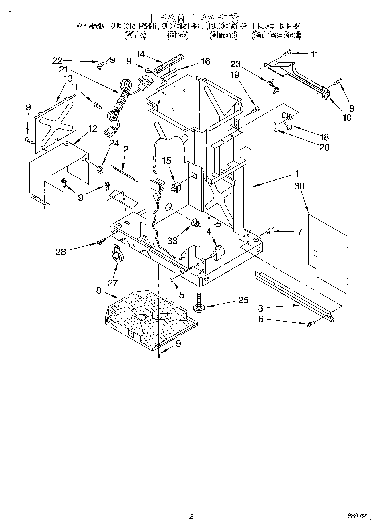
KUCC151EBS1 02 – FRAME