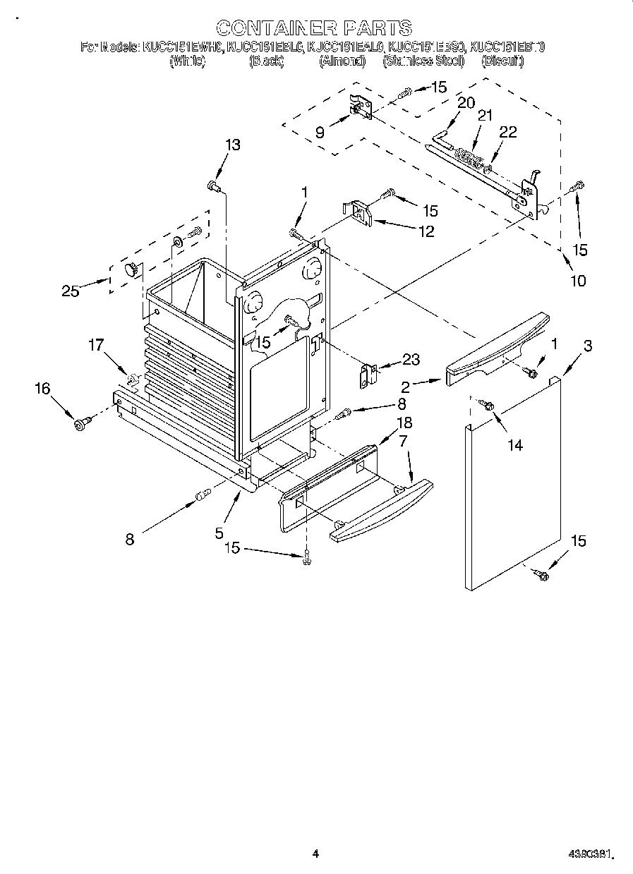
KUCC151EBT0 04 – CONTAINERadmin2025-04-26T12:44:51+00:00KUCC151EBT0 04 – CONTAINER ProductsPositionProduct1WP489069 Whirlpool Compactor Screw2Handle, Container (Biscuit)2HANDLE3WP9871311 Whirlpool Compactor Panel3W10813881 Whirlpool Stainless Drawer Front Panel Container3WP9871309 Whirlpool Compactor Panel39871574 Whirlpool Compactor Panel3Panel, Container (Almond)5WPW10451276 Whirlpool Compactor Container79871577 Whirlpool Compactor Foot Pedal7W11679165 Whirlpool Foot Pedal7WP9871031 Whirlpool Compactor Foot Pedal8WP780263 Whirlpool Compactor Screw9WP776395 Whirlpool Compactor Guide10675379 Whirlpool Compactor Drawer Latch129871125 Whirlpool Compactor Actuator13Bumper, Container (2)14WP3196175 Whirlpool Screw15WP489478 Whirlpool Refrigerator Screw16WP9871602 Whirlpool Compactor Bearing17WP776356 Whirlpool Compactor Nut18WP777328 Whirlpool Compactor Guard18W10917704 Whirlpool Compactor Guard18Plate, Toe Guard (Biscuit)20Pin21775736 Whirlpool Compactor Spring22Ring, ``E``23775665 Whirlpool Compactor Plate Latch25RETAINER, BAG