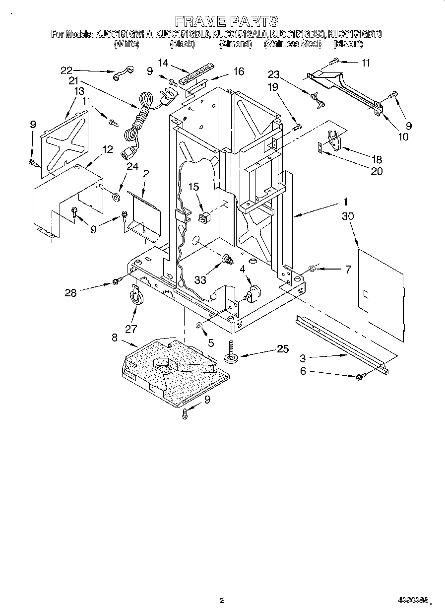
KUCC151GBL0 02 – FRAME