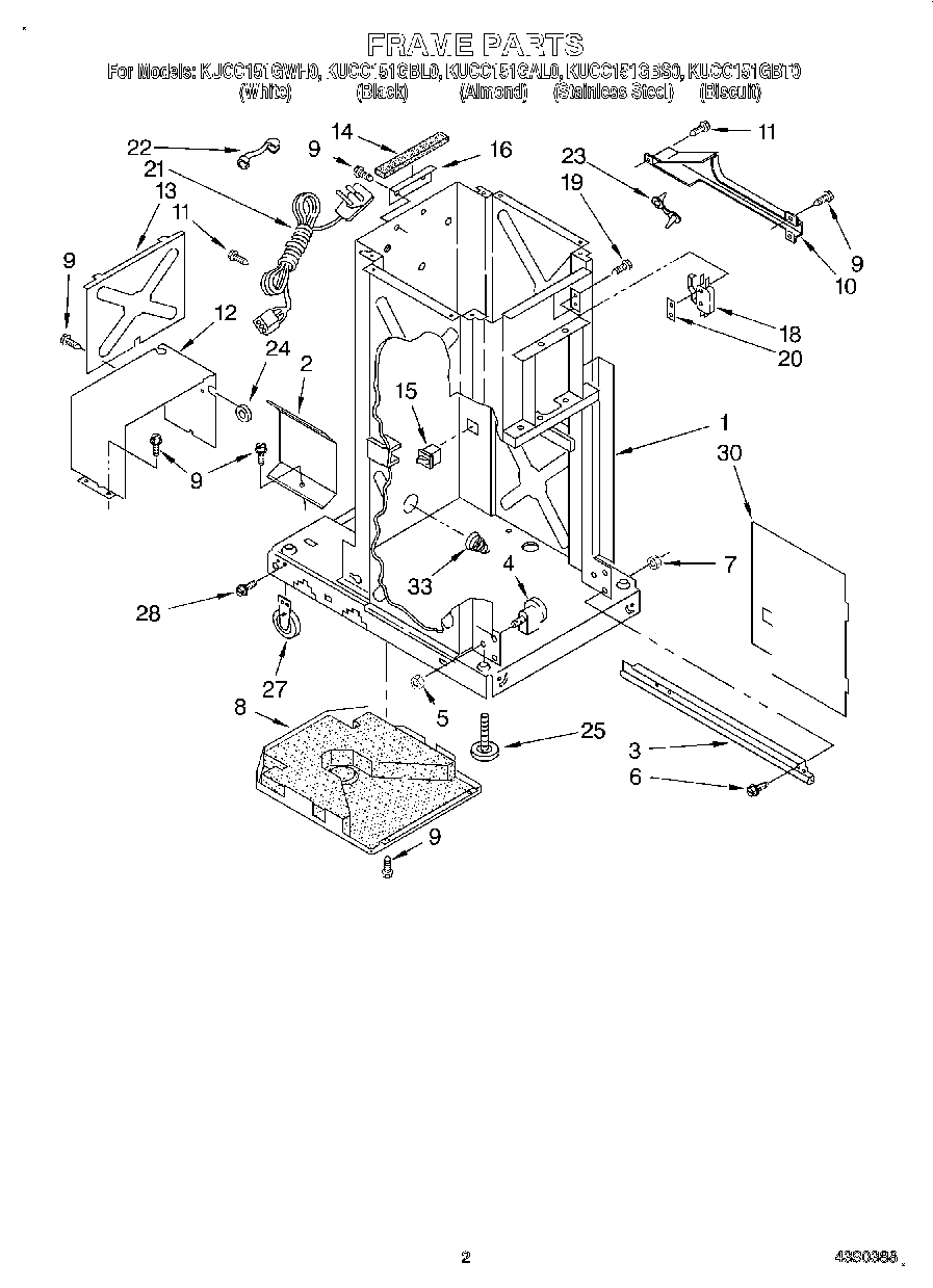
KUCC151GBT0 02 – FRAME