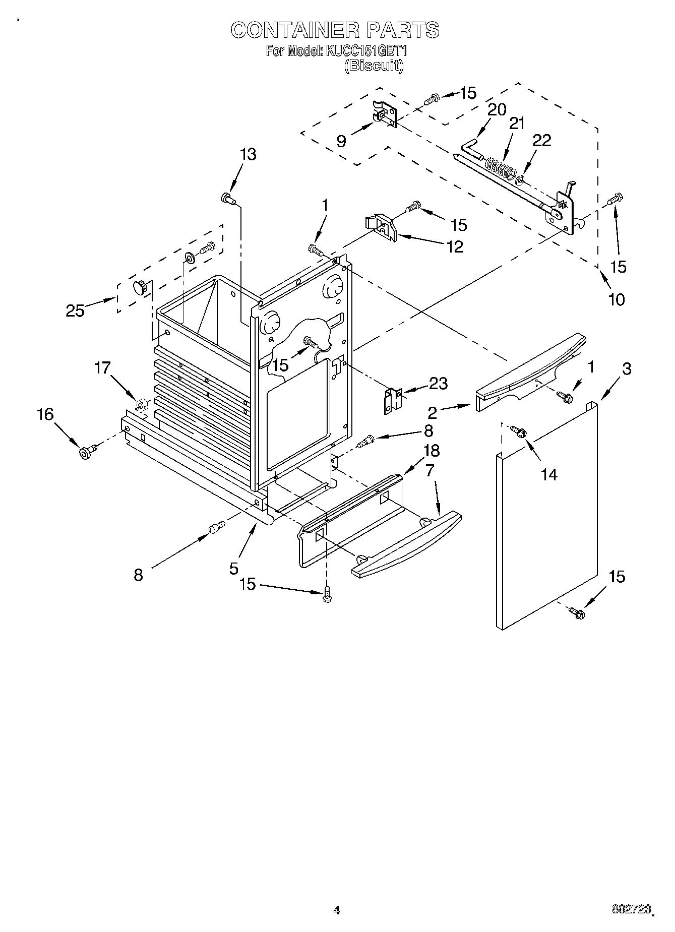
KUCC151GBT1 04 – CONTAINERadmin2025-04-26T12:43:09+00:00KUCC151GBT1 04 – CONTAINER ProductsPositionProduct1WP3400888 Whirlpool Compactor Screw2Handle, Container (Biscuit)39871574 Whirlpool Compactor Panel5WPW10451276 Whirlpool Compactor Container79871577 Whirlpool Compactor Foot Pedal8WP780263 Whirlpool Compactor Screw9WP776395 Whirlpool Compactor Guide10675379 Whirlpool Compactor Drawer Latch129871125 Whirlpool Compactor Actuator13Bumper, Container (2)14WP3196175 Whirlpool Screw15WP489478 Whirlpool Refrigerator Screw16WP9871602 Whirlpool Compactor Bearing17WP776356 Whirlpool Compactor Nut18Plate, Toe Guard (Biscuit)20Pin21775736 Whirlpool Compactor Spring22Ring, ``E``23775665 Whirlpool Compactor Plate Latch25RETAINER, BAG