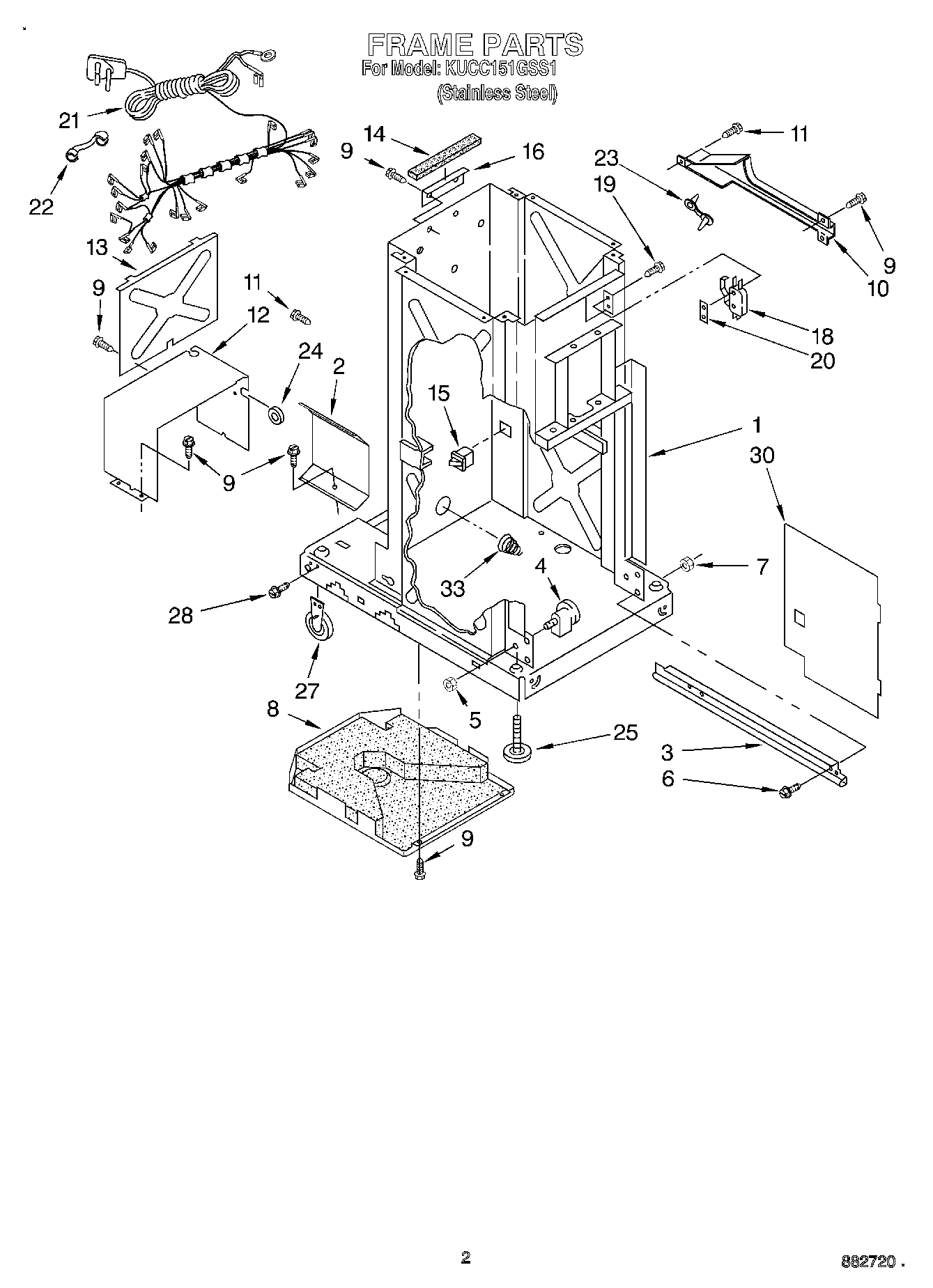
KUCC151GSS1 02 – FRAME